Product list產品列表
Customer service在線客服
產品展示
NGW-LDF型立式行星齒輪減速器用途和特點
主要用途:
NGW-LDF型立式行星齒輪減速器,是在NGW-L型立式行星齒輪減速器的基礎上為杜絕減速器滲漏油,經研制而發展的系列產品,該系列產品主要用于冶金、建材、化工、輕工、制藥、味精等釜罐攪拌設備。該系列減速器以其獨到的防漏設計及防漏高可靠性,已獲93年專利,其專利號為93241624-1。
適用條件:
齒輪圓周速度不超過15m/s高速軸最高轉速不超過1500r/min。
工作環境溫度:-40℃~+45℃.
可用于正反兩向運轉。
主要特點:
結構緊湊:自重輕、體積小,安裝方便。
傳動功率:根據實驗實測:
單級效率η=0.97~0.98
雙級效率η=0.94~0.96
功率范圍大:其傳動功率可達1.31~500千瓦
傳動比大:單級速比i=4~10
雙級速比i=25~100
運轉平穩,噪音小:行星傳動具有扭矩分支的特點,與軸線固定的齒輪傳動相比,圓周速度也有所降低。為使各行星轉載荷均衡分配,采用了可靠的浮動機構可減輕振動,降低噪音。
壽命長:主要零件均采用優質合金鋼經調質、淬火或氮化處理制成.大大提高了機械性能和耐磨性,因此,在正常合理的使用條件下,具有壽命長,可靠度高的特點。
防滲漏性:減速器的機體內潤滑油不滲漏。
NGW-LDF型立式行星齒輪減速器型號規格
1 代號含義
型號標記示例:
2 規格種類
NGW-LDF型減速器的規格是p>根據傳動比、功率和扭矩大小、劃分為12個機座號,按每個機座號大小不同又分為單級、雙級傳動,計有16個型號22種傳動比,如下表所示。
| 傳動類型 | 型號規格 | 速比范圍 |
| 單級 | NGW-LDF11-NGW-LDF71 | 4~10 |
| 雙級 | NGW-LDF42-NGW-LDF122 | 25~100 |
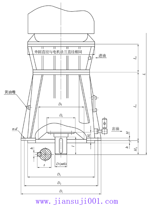
NGW-LDF型立式行星齒輪減速器單級外形及安裝尺寸
單級減速器外形、尺寸見下圖及下表

| 機座號 | 型號 及規格 |
公稱傳 動比i0 |
外形 | 法蘭及螺栓孔 | 軸伸 | 重量kg | 油量Oil | ||||||||||||||
| L | L2 | L1 | D1 | H1 | D3 | h | H | D2 | n-d | H2 | D4 | D5 | D | b | t | L | |||||
| mm | |||||||||||||||||||||
| 1 | NGW-LDF11 | 4~5 | 按所 配電 機確 定 |
230.5 | 360 | 65 | 280 | 6 | 20 | 325 | 6-18 | 35 | 120 | 150 | 50 | 14 | 53.5 | 82 | 80 | 4 | |
| 5.6~10 | |||||||||||||||||||||
| 2 | NGW-LDF21 | 4~5 | 255 | 385 | 90 | 305 | 6 | 20 | 345 | 6-18 | 35 | 140 | 170 | 60 | 18 | 64 | 105 | 110 | 6 | ||
| 5.6~10 | |||||||||||||||||||||
| 3 | NGW-LDF31 | 4~5 | 285 | 430 | 90 | 330 | 6 | 25 | 380 | 6-18 | 40 | 160 | 190 | 70 | 20 | 74.5 | 105 | 135 | 8 | ||
| 5.6~10 | |||||||||||||||||||||
| 4 | NGW-LDF41 | 4~5 | 315 | 485 | 100 | 385 | 8 | 25 | 435 | 8-22 | 50 | 180 | 215 | 80 | 22 | 85 | 130 | 175 | 12 | ||
| 5.6~10 | |||||||||||||||||||||
| 5 | NGW-LDF51 | 4~5 | 355 | 520 | 100 | 420 | 8 | 30 | 470 | 8-22 | 60 | 200 | 240 | 90 | 25 | 95 | 130 | 265 | 16 | ||
| 5.6~10 | |||||||||||||||||||||
| 6 | NGW-LDF61 | 4~5 | 395 | 605 | 120 | 505 | 8 | 30 | 545 | 8-22 | 60 | 220 | 280 | 100 | 28 | 106 | 165 | 350 | 21 | ||
| 5.6~10 | |||||||||||||||||||||
| 7 | NGW-LDF71 | 4~5 | 440 | 670 | 120 | 570 | 10 | 30 | 610 | 8-22 | 70 | 250 | 320 | 110 | 28 | 116 | 165 | 450 | 30 | ||
| 5.6~10 | |||||||||||||||||||||
①表中重量不包括電機重量。
②所配電機型號規格確定后再定L2、L之尺寸。
減速器的外形及安裝尺寸
兩級減速器外形、尺寸見下圖及下表
| 機座號 | 型號 及規格 |
公稱傳 動比i0 |
外形 | 法蘭及螺栓孔 | 軸伸 | 重量kg | 油量Oil | |||||||||||||||
| L | L3 | L2 | L1 | D1 | H1 | D3 | h | H | D2 | n-d | H2 | D4 | D5 | D | b | t | l | |||||
| mm | ||||||||||||||||||||||
| 4 | NGW-LDF42 | 25~100 | 按所 配電 機確 定 |
70 | 315 | 485 | 100 | 385 | 8 | 25 | 435 | 8-22 | 50 | 180 | 215 | 80 | 22 | 85 | 130 | 198 | 12 | |
| 5 | NGW-LDF52 | 25~100 | 100 | 355 | 520 | 100 | 420 | 8 | 30 | 47 | 8-22 | 60 | 200 | 240 | 90 | 25 | 95 | 130 | 297 | 16 | ||
| 6 | NGW-LDF62 | 25~100 | 125 | 395 | 605 | 120 | 505 | 8 | 30 | 545 | 8-32 | 60 | 220 | 280 | 100 | 28 | 106 | 165 | 385 | 21 | ||
| 7 | NGW-LDF72 | 25~100 | 140 | 440 | 670 | 120 | 570 | 10 | 30 | 610 | 8-32 | 70 | 250 | 320 | 110 | 28 | 116 | 165 | 473 | 30 | ||
| 8 | NGW-LDF82 | 25~100 | 150 | 485 | 750 | 140 | 830 | 10 | 35 | 675 | 8-38 | 70 | 280 | 340 | 120 | 32 | 127 | 165 | 600 | 40 | ||
| 9 | NGW-LDF92 | 25~100 | 170 | 520 | 830 | 140 | 710 | 10 | 35 | 755 | 8-38 | 90 | 300 | 360 | 130 | 32 | 137 | 200 | 740 | 60 | ||
| 10 | NGW-LDF102 | 25~100 | 190 | 570 | 940 | 160 | 810 | 12 | 40 | 860 | 8-44 | 90 | 340 | 400 | 150 | 36 | 158 | 200 | 1090 | 85 | ||
| 11 | NGW-LDF112 | 25~100 | 210 | 620 | 1020 | 215 | 890 | 12 | 40 | 940 | 8-4 | 110 | 360 | 420 | 170 | 40 | 179 | 240 | 1340 | 120 | ||
| 12 | NGW-LDF122 | 25~100 | 230 | 685 | 1150 | 210 | 1010 | 12 | 40 | 1070 | 8-50 | 140 | 380 | 440 | 190 | 45 | 200 | 280 | 2030 | 180 | ||
①表中重量不包括電機重量。
②所配電機型號規格確定后再定L3、L之尺寸。
NGW-LDF型立式行星齒輪減速器承載能力及選用
1 承載能力
本系列減速器的承載能力,表是以每日工作10小時,壽命10年的條件下確定的,輸入功率和輸出扭矩列表如下。
表1 使用系數K1
| 每日工作時間h | ≤3 | 3~6 | 6~10 | 10~24 | |
| 工作類型 | 中型 | 重型 | 特別型 | 連續型 | |
| 負荷性質 | 平穩無沖擊 | 1 | 1 | 1 | 1.25 |
| 中等沖擊 | 1 | 1.25 | 1.35 | 1.5 | |
| 強烈沖擊 | 1.5 | 1.7 | 1.8 | 2 | |
表2 采用油池潤滑的系數K2
| 圓周速度 | ≤2.5 | >2.5~3.5 | >3.5~5 | >5~7 | >7~10 | >10~15 |
| 間數工作 | 1 | 1 | 1 | 1.05 | 1.1 | 1.15 |
| 連續工作 | 1 | 1.1 | 1.15 | 1.2 | 1.3 | 1.6 |
注:減速器圓周速度指高速級而言
表3 單級減速器輸入功率
| 傳動 比代號 |
公稱 傳動比 |
機座號 | 1 | 2 | 3 | 4 | 5 | 6 | 7 |
| 型號 | NGW-LDF11 | NGW-LDF21 | NGW-LDF31 | NGW-LDF41 | NGW-LDF51 | NGW-LDF61 | NGW-LDF71 | ||
| n1 r/min | 單級減速器高速軸許用輸入功率(P1)KW | ||||||||
| 1 | 4 | 600 | 23.3 | 31.4 | 45.9 | 61.9 | 92.9 | 125.6 | 186 |
| 750 | 29.1 | 39.3 | 57.4 | 84.9 | 116.1 | 156.9 | 232 | ||
| 1000 | 38.8 | 52.4 | 76.5 | 113.2 | 154.8 | 209.3 | 310 | ||
| 1500 | 58.1 | 78.8 | 114.7 | 169.8 | 232.2 | 313.9 | 465 | ||
| 2 | 4.5 | 600 | 19.7 | 27.8 | 39 | 57.6 | 80.2 | 106.6 | 158 |
| 750 | 24.7 | 34.8 | 48.7 | 72 | 100.2 | 133.3 | 190 | ||
| 1000 | 32.9 | 46.4 | 65 | 96 | 133.6 | 177.7 | 263 | ||
| 1500 | 49.4 | 69.6 | 97.4 | 144 | 200.4 | 266.6 | 395 | ||
| 3 | 5 | 600 | 17.3 | 23.7 | 35.1 | 51.6 | 69.1 | 95.9 | 142 |
| 750 | 22.2 | 29.6 | 43.8 | 64.5 | 86.4 | 119.9 | 177.6 | ||
| 1000 | 29.6 | 39.5 | 58.4 | 86 | 115.2 | 159.8 | 236 | ||
| 1500 | 44.4 | 59.3 | 87.6 | 129 | 172.8 | 239.7 | 355 | ||
| 4 | 5.6 | 600 | 10 | 14.1 | 21 | 29.9 | 41.1 | 60.7 | 79.9 |
| 750 | 12.5 | 17.6 | 26.3 | 37.4 | 51.3 | 75.9 | 99.9 | ||
| 1000 | 16.6 | 23.5 | 35 | 49.9 | 68.4 | 101.2 | 133.1 | ||
| 1500 | 25 | 35.2 | 52.6 | 74.8 | 102.7 | 151.8 | 199.7 | ||
| 5 | 6.3 | 600 | 8.7 | 12.2 | 18.2 | 26 | 35.6 | 52.3 | 69.8 |
| 750 | 10.9 | 15.3 | 22.8 | 32.5 | 44.5 | 65.4 | 87.2 | ||
| 1000 | 14.5 | 20.4 | 30.4 | 43.8 | 59.4 | 87.2 | 116.3 | ||
| 1500 | 21.8 | 30.6 | 45.6 | 64.9 | 89.1 | 130.8 | 174.4 | ||
| 6 | 7.1 | 600 | 7.5 | 10.4 | 15.5 | 22 | 30.2 | 44 | 59.7 |
| 750 | 9.3 | 13 | 19.4 | 27.6 | 37.8 | 55 | 74.6 | ||
| 1000 | 12.4 | 17.3 | 25.8 | 36.7 | 50.4 | 73.3 | 99.5 | ||
| 1500 | 18.7 | 25.9 | 38.7 | 55.1 | 75.6 | 109.9 | 149.3 | ||
| 7 | 8 | 600 | 6.2 | 8.6 | 12.8 | 18.2 | 25 | 35.9 | 49.9 |
| 750 | 7.8 | 10.7 | 16.4 | 22.8 | 31.2 | 44.8 | 62.3 | ||
| 1000 | 10.4 | 14.3 | 21.3 | 30.4 | 41.6 | 59.8 | 83.1 | ||
| 1500 | 15.6 | 28.6 | 32 | 45.5 | 62.4 | 89.7 | 124.7 | ||
| 8 | 9 | 600 | 5.1 | 6.8 | 10.2 | 14.5 | 20 | 28.2 | 40.4 |
| 750 | 6.3 | 8.6 | 12.8 | 18.2 | 24.9 | 35.2 | 50.6 | ||
| 1000 | 8.4 | 11.4 | 17 | 24.2 | 33.3 | 46.9 | 67.4 | ||
| 1500 | 12.6 | 22.8 | 25.5 | 36.4 | 49.9 | 70.4 | 101.1 | ||
| 9 | 10 | 600 | 3.9 | 6 | 9 | 12.8 | 17.6 | 24.5 | 31.6 |
| 750 | 4.9 | 7.5 | 11.2 | 16 | 22 | 30.7 | 39.5 | ||
| 1000 | 6.6 | 10 | 15 | 21.3 | 29.3 | 40.9 | 52.7 | ||
| 1500 | 9.9 | 20.1 | 22.5 | 32 | 43.9 | 61.3 | 79 | ||
表4 兩級減速器輸入功率
| 傳動 比代號 |
公稱 傳動比 |
機座號 | 4 | 5 | 6 | 7 | 8 | 9 | 10 | 11 | 12 |
| 型號 | NGW-LDF42 | NGW-LDF52 | NGW-LDF62 | NGW-LDF72 | NGW-LDF82 | NGW-LDF92 | NGW-LDF102 | NGW-LDF112 | NGW-LDF122 | ||
| n1 r/min | 兩級減速器高速軸許用輸入功率(P1)KW | ||||||||||
| 1 | 25 | 600 | 12.21 | 15.93 | 21.98 | 32.46 | 42.12 | 63.90 | 93.12 | 127.27 | 175.24 |
| 750 | 13.99 | 19.38 | 27.42 | 40.51 | 55.08 | 79.79 | 116.22 | 159.02 | 218.58 | ||
| 1000 | 15.57 | 26.41 | 36.50 | 53.92 | 73.40 | 106.35 | 155.06 | 211.88 | 291.73 | ||
| 1500 | 27.77 | 39.54 | 54.68 | 82.79 | 109.95 | 159.39 | 232.44 | 317.67 | 437.44 | ||
| 2 | 28 | 600 | 10.01 | 14.88 | 19.63 | 28.99 | 39.39 | 57.06 | 83.14 | 113.63 | 156.44 |
| 750 | 12.50 | 18.49 | 24.48 | 36.17 | 49.17 | 71.25 | 103.90 | 141.97 | 195.16 | ||
| 1000 | 16.50 | 23.58 | 32.59 | 48.15 | 65.53 | 94.96 | 138.44 | 189.18 | 260.47 | ||
| 1500 | 24.79 | 35.31 | 48.82 | 72.13 | 98.17 | 142.31 | 207.50 | 283.66 | 390.57 | ||
| 3 | 31.5 | 600 | 8.90 | 13.16 | 17.44 | 25.76 | 35.01 | 50.71 | 73.91 | 101.1 | 139.05 |
| 750 | 11.10 | 16.43 | 21.75 | 36.18 | 43.72 | 63.33 | 92.35 | 126.21 | 173.46 | ||
| 1000 | 14.73 | 21.67 | 28.96 | 42.79 | 58.28 | 84.41 | 123.06 | 168.16 | 231.52 | ||
| 1500 | 22.04 | 32.69 | 43.37 | 64.12 | 87.26 | 126.50 | 184.48 | 252.12 | 247.18 | ||
| 4 | 35.5 | 600 | 7.90 | 11.69 | 15.49 | 22.86 | 31.07 | 44.99 | 65.58 | 89.63 | 123.39 |
| 750 | 9.85 | 14.58 | 19.30 | 28.50 | 38.78 | 58.20 | 81.94 | 111.98 | 153.92 | ||
| 1000 | 13.07 | 19.37 | 25.70 | 37.97 | 51.69 | 74.89 | 109.20 | 149.23 | 205.44 | ||
| 1500 | 18.55 | 29.04 | 38.50 | 56.00 | 77.42 | 112.25 | 163.70 | 223.72 | 308.06 | ||
| 5 | 40 | 600 | 7.27 | 9.89 | 14.72 | 20.93 | 28.75 | 41.28 | 57.38 | 78.77 | 117.64 |
| 750 | 9.14 | 12.38 | 18.86 | 26.22 | 35.88 | 51.52 | 71.64 | 98.55 | 147.08 | ||
| 1000 | 12.19 | 16.44 | 24.40 | 34.46 | 47.84 | 68.77 | 59.56 | 131.33 | 196.07 | ||
| 1500 | 18.2 | 32.89 | 36.8 | 53.32 | 71.76 | 103.15 | 143.40 | 197.11 | 294.17 | ||
| 6 | 45 | 600 | 5.98 | 7.82 | 11.73 | 16.67 | 16.67 | 23 | 32.43 | 41.46 | 93.95 |
| 750 | 7.38 | 9.89 | 14.72 | 20.93 | 28.63 | 40.48 | 58.19 | 78.77 | 117.53 | ||
| 1000 | 9.65 | 13.11 | 19.45 | 27.83 | 38.87 | 53.93 | 77.51 | 104.99 | 156.68 | ||
| 1500 | 4.77 | 26.22 | 29.03 | 41.86 | 57.38 | 80.96 | 116.26 | 157.43 | 235.06 | ||
| 7 | 50 | 600 | 4.56 | 6.9 | 10.35 | 14.72 | 20.24 | 28.17 | 36.34 | 55.43 | 82.8 |
| 750 | 5.75 | 8.26 | 12.08 | 18.4 | 25.3 | 35.30 | 45.42 | 69.34 | 103.38 | ||
| 1000 | 7.70 | 11.5 | 17.25 | 24.49 | 33.69 | 47.03 | 60.60 | 92.345 | 137.88 | ||
| 1500 | 11.68 | 25.115 | 25.87 | 36.8 | 50.48 | 70.49 | 90.85 | 138.5 | 206.88 | ||
| 8 | 56 | 600 | 3.18 | 3.87 | 6.54 | 8.61 | 12.13 | 18.11 | 25.74 | 35.32 | 52.03 |
| 750 | 3.88 | 4.44 | 8.17 | 10.74 | 15.14 | 22.60 | 35.21 | 44.12 | 65.01 | ||
| 1000 | 5.25 | 7.33 | 10.88 | 14.26 | 20.12 | 30.08 | 42.82 | 59.81 | 86.64 | ||
| 1500 | 7.59 | 10.98 | 16.23 | 21.48 | 30.19 | 45.11 | 64.18 | 88.12 | 127.24 | ||
| 9 | 63 | 600 | 2.683 | 3.76 | 5.54 | 7.32 | 10.29 | 15.36 | 26.84 | 29.95 | 44.12 |
| 750 | 3.33 | 4.66 | 6.90 | 4.15 | 12.86 | 19.14 | 27.26 | 37.40 | 55.10 | ||
| 1000 | 4.43 | 6.21 | 10.05 | 12.09 | 12.12 | 25.49 | 36.30 | 49.08 | 73.43 | ||
| 1500 | 6.61 | 9.28 | 13.73 | 18.18 | 25.67 | 38.23 | 54.41 | 74.64 | 110.07 | ||
| 10 | 71 | 600 | 2.25 | 3.15 | 4.64 | 6.15 | 8.62 | 12.85 | 18.55 | 25.06 | 36.96 |
| 750 | 2.79 | 3.91 | 5.77 | 7.66 | 10.75 | 16.00 | 22.80 | 31.29 | 46.18 | ||
| 1000 | 3.71 | 5.25 | 7.67 | 10.20 | 14.30 | 21.36 | 30.36 | 41.69 | 61.54 | ||
| 1500 | 5.52 | 7.78 | 11.48 | 15.18 | 21.42 | 32.02 | 45.47 | 62.48 | 92.24 | ||
| 11 | 80 | 600 | 1.90 | 2.59 | 3.79 | 5.10 | 7.11 | 10.58 | 15.03 | 20.68 | 30.15 |
| 750 | 2.36 | 3.24 | 4.71 | 6.36 | 8.87 | 31.23 | 18.87 | 25.80 | 37.65 | ||
| 1000 | 3.12 | 4.29 | 6.25 | 8.46 | 11.76 | 17.62 | 25.13 | 34.38 | 50.21 | ||
| 1500 | 4.67 | 6.42 | 9.36 | 12.65 | 17.72 | 26.40 | 37.68 | 51.54 | 75.21 | ||
| 12 | 90 | 600 | 1.54 | 2.31 | 3.05 | 4.16 | 5.76 | 8.61 | 18.22 | 16.77 | 24.27 |
| 750 | 1.85 | 2.62 | 3.80 | 5.19 | 7.18 | 10.74 | 15.25 | 20.94 | 30.32 | ||
| 1000 | 2.05 | 3.49 | 5.05 | 5.08 | 9.56 | 14.30 | 20.29 | 27.87 | 40.40 | ||
| 1500 | 3.85 | 5.21 | 7.45 | 10.33 | 14.32 | 21.40 | 30.40 | 41.73 | 60.56 | ||
| 13 | 600 | 1.31 | 1.79 | 2.58 | 3.37 | 4.91 | 7.33 | 10.45 | 14.30 | 20.59 | |
| 750 | 1.61 | 2.23 | 3.22 | 4.18 | 6.16 | 9.15 | 13.05 | 17.85 | 25.70 | ||
| 1000 | 2.15 | 2.96 | 4.27 | 5.58 | 8.14 | 12.18 | 17.32 | 23.78 | 34.25 | ||
| 1500 | 3.20 | 4.43 | 6.39 | 8.35 | 12.24 | 18.23 | 25.93 | 35.62 | 51.34 | ||
表5 單級減速器輸出扭矩
| 傳動 比代號 |
公稱 傳動比 |
機座號 | 1 | 2 | 3 | 4 | 5 | 6 | 7 |
| 型號 | NGW-LDF11 | NGW-LDF21 | NGW-LDF31 | NGW-LDF41 | NGW-LDF51 | NGW-LDF61 | NGW-LDF71 | ||
| n1 r/min | 單級減速器低速軸許用輸出扭矩(T)N·m | ||||||||
| 1 | 4 | 600 | 1420 | 1980 | 2850 | 4100 | 5630 | 7700 | 11420 |
| 750 | 1400 | 1960 | 2830 | 4090 | 5620 | 7690 | 11400 | ||
| 1000 | 1390 | 1950 | 2810 | 4070 | 5610 | 7670 | 11390 | ||
| 1500 | 1380 | 1930 | 2800 | 4060 | 5600 | 7660 | 11370 | ||
| 2 | 4.5 | 600 | 1410 | 1950 | 2780 | 4060 | 5570 | 7600 | 11250 |
| 750 | 1400 | 1930 | 2770 | 4050 | 5550 | 7590 | 11230 | ||
| 1000 | 1380 | 1920 | 2750 | 4030 | 5530 | 7570 | 11220 | ||
| 1500 | 1360 | 1900 | 2730 | 4020 | 5510 | 7560 | 11200 | ||
| 3 | 5 | 600 | 1390 | 1890 | 2700 | 3960 | 5400 | 7450 | 11000 |
| 750 | 1370 | 1880 | 2680 | 3950 | 5390 | 7430 | 10980 | ||
| 1000 | 1350 | 1860 | 2670 | 3930 | 5370 | 7420 | 10960 | ||
| 1500 | 1330 | 1840 | 2650 | 3970 | 5360 | 7410 | 10950 | ||
| 4 | 5.6 | 600 | 920 | 1280 | 1890 | 2700 | 3690 | 5450 | 7160 |
| 750 | 900 | 1260 | 1870 | 2680 | 3080 | 5440 | 7140 | ||
| 1000 | 880 | 1250 | 1860 | 2670 | 3660 | 5430 | 7120 | ||
| 1500 | 860 | 1230 | 1850 | 2660 | 3650 | 5400 | 7100 | ||
| 5 | 6.3 | 600 | 870 | 1220 | 1800 | 2570 | 3520 | 5180 | 6850 |
| 750 | 850 | 1210 | 1790 | 2550 | 3500 | 5170 | 6830 | ||
| 1000 | 830 | 1200 | 1770 | 2540 | 3490 | 5150 | 6820 | ||
| 1500 | 820 | 1180 | 1750 | 2530 | 3470 | 5140 | 6820 | ||
| 6 | 7.1 | 600 | 810 | 1150 | 1700 | 2430 | 3320 | 4890 | 6480 |
| 750 | 800 | 1130 | 1690 | 2410 | 3300 | 4870 | 6460 | ||
| 1000 | 780 | 1120 | 1670 | 2400 | 3290 | 4850 | 6450 | ||
| 1500 | 770 | 1110 | 1660 | 2380 | 3280 | 4840 | 6400 | ||
| 7 | 8 | 600 | 750 | 1080 | 1580 | 2260 | 3100 | 4500 | 6060 |
| 750 | 740 | 1060 | 1560 | 2240 | 3080 | 4480 | 6040 | ||
| 1000 | 730 | 1040 | 1550 | 2230 | 3060 | 4460 | 6030 | ||
| 1500 | 720 | 1030 | 1530 | 2220 | 3050 | 4450 | 6010 | ||
| 8 | 9 | 600 | 700 | 970 | 1450 | 2060 | 2820 | 4080 | 5570 |
| 750 | 690 | 960 | 1440 | 2040 | 2810 | 4060 | 5550 | ||
| 1000 | 680 | 940 | 1430 | 2030 | 2800 | 4050 | 5540 | ||
| 1500 | 670 | 930 | 1410 | 2020 | 2790 | 4030 | 5520 | ||
| 9 | 10 | 600 | 640 | 910 | 1350 | 1950 | 2670 | 3840 | 5000 |
| 750 | 630 | 900 | 1340 | 1930 | 2650 | 3830 | 4980 | ||
| 1000 | 620 | 890 | 1330 | 1920 | 2640 | 3810 | 4970 | ||
| 1500 | 610 | 870 | 1310 | 1900 | 2630 | 3800 | 4960 | ||
表6 兩級減速器輸出扭矩
| 傳動 比代號 |
公稱 傳動比 |
機座號 | 4 | 5 | 6 | 7 | 8 | 9 | 10 | 11 | 12 |
| 型號 | NGW-LDF42 | NGW-LDF52 | NGW-LDF62 | NGW-LDF72 | NGW-LDF82 | NGW-LDF92 | NGW-LDF102 | NGW-LDF112 | NGW-LDF122 | ||
| n1 r/min | 兩級減速器高速軸許用輸入功率(P1)KW | ||||||||||
| 1 | 25 | 600 | 4550 | 6210 | 8560 | 12650 | 17190 | 24890 | 36280 | 49580 | 68260 |
| 750 | 4540 | 6190 | 8540 | 12620 | 17160 | 24870 | 36270 | 49560 | 68240 | ||
| 1000 | 4510 | 6170 | 8530 | 12600 | 17150 | 24860 | 36240 | 49530 | 68190 | ||
| 1500 | 4500 | 6160 | 8520 | 12590 | 17130 | 24840 | 36220 | 49500 | 68170 | ||
| 2 | 28 | 600 | 4550 | 6210 | 8560 | 12650 | 17190 | 24890 | 36280 | 49580 | 68260 |
| 750 | 4540 | 6190 | 8540 | 12620 | 17200 | 24870 | 36270 | 49560 | 68240 | ||
| 1000 | 4510 | 6170 | 8530 | 12600 | 17150 | 24860 | 36240 | 49530 | 68190 | ||
| 1500 | 4500 | 6160 | 8520 | 12590 | 17130 | 24840 | 36220 | 49500 | 68170 | ||
| 3 | 31.5 | 600 | 4550 | 6210 | 8560 | 12650 | 17190 | 24890 | 36280 | 49580 | 68260 |
| 750 | 4540 | 6200 | 8540 | 12620 | 17160 | 24870 | 36270 | 37470 | 68240 | ||
| 1000 | 4510 | 6100 | 8530 | 12600 | 17150 | 24860 | 36240 | 49530 | 68190 | ||
| 1500 | 4500 | 6160 | 8520 | 12590 | 17130 | 24840 | 36220 | 49500 | 68170 | ||
| 4 | 35.5 | 600 | 4550 | 6210 | 8560 | 12650 | 17190 | 24890 | 36280 | 49580 | 68260 |
| 750 | 4540 | 6810 | 8540 | 12620 | 17150 | 24870 | 36270 | 49560 | 68240 | ||
| 1000 | 4510 | 6170 | 8530 | 12600 | 17150 | 24680 | 36240 | 49530 | 68190 | ||
| 1500 | 4500 | 6160 | 8520 | 12590 | 17130 | 24840 | 36220 | 49500 | 68180 | ||
| 5 | 40 | 600 | 4310 | 6210 | 8420 | 12100 | 17190 | 24890 | 34730 | 48410 | 68260 |
| 750 | 4250 | 6090 | 8970 | 12880 | 17160 | 24870 | 34700 | 48350 | 68240 | ||
| 1000 | 4190 | 5980 | 8910 | 12820 | 17150 | 24860 | 34680 | 48310 | 68190 | ||
| 1500 | 4140 | 5920 | 8790 | 12760 | 17130 | 24840 | 34660 | 48300 | 68170 | ||
| 6 | 45 | 600 | 4020 | 5570 | 8330 | 11840 | 16210 | 26280 | 31910 | 44210 | 65950 |
| 750 | 3960 | 5520 | 8280 | 11730 | 16190 | 23270 | 31880 | 44190 | 65920 | ||
| 1000 | 3910 | 5400 | 8220 | 11670 | 16160 | 23250 | 31870 | 44160 | 65890 | ||
| 1500 | 3850 | 5340 | 8100 | 11610 | 16150 | 23250 | 31850 | 44130 | 65860 | ||
| 7 | 50 | 600 | 3680 | 5230 | 7760 | 11210 | 15230 | 21960 | 28750 | 41860 | 62500 |
| 750 | 3620 | 5170 | 7700 | 11090 | 15210 | 21940 | 28710 | 41830 | 62470 | ||
| 1000 | 3560 | 5110 | 7640 | 11040 | 15190 | 21910 | 28690 | 41800 | 62440 | ||
| 1500 | 3500 | 5000 | 7530 | 10920 | 15180 | 21890 | 28680 | 41760 | 62410 | ||
| 8 | 56 | 600 | 2830 | 3870 | 5720 | 7510 | 10590 | 15800 | 22470 | 30820 | 45410 |
| 750 | 2810 | 3860 | 5710 | 7490 | 10570 | 15780 | 22440 | 30800 | 45890 | ||
| 1000 | 2800 | 6840 | 5700 | 7470 | 10560 | 15770 | 22420 | 30790 | 45370 | ||
| 1500 | 2790 | 3830 | 5670 | 7450 | 10540 | 15750 | 22400 | 30760 | 45360 | ||
| 9 | 63 | 600 | 2690<, /TD> | 3690 | 5430 | 7190 | 10110 | 15070 | 21440 | 29410 | 43310 |
| 750 | 2680 | 3670 | 5420 | 7170 | 10100 | 15050 | 21420 | 29370 | 43280 | ||
| 1000 | 2670 | 3660 | 5400 | 7160 | 10090 | 15030 | 21380 | 29350 | 43260 | ||
| 1500 | 2650 | 3640 | 5390 | 7140 | 10080 | 15010 | 21360 | 29310 | 43220 | ||
| 10 | 71 | 600 | 2550 | 3480 | 5130 | 6800 | 9530 | 14210 | 20210 | 27730 | 40890 |
| 750 | 2530 | 3460 | 5110 | 6780 | 6510 | 14190 | 20190 | 27690 | 40830 | ||
| 1000 | 2520 | 3450 | 5090 | 6770 | 9490 | 14180 | 20160 | 27670 | 40850 | ||
| 1500 | 2490 | 3440 | 5080 | 6720 | 9480 | 14170 | 20120 | 27650 | 40820 | ||
| 11 | 80 | 600 | 2370 | 3250 | 4720 | 6360 | 8870 | 13230 | 18840 | 25780 | 37590 |
| 750 | 2350 | 3230 | 4700 | 6340 | 8840 | 13190 | 18820 | 25740 | 37550 | ||
| 1000 | 2340 | 3210 | 4680 | 6330 | 8820 | 13180 | 18800 | 25720 | 37530 | ||
| 1500 | 2330 | 3200 | 4670 | 6310 | 8080 | 13160 | 18790 | 25700 | 37500 | ||
| 12 | 90 | 600 | 2160 | 2960 | 4280 | 5840 | 8060 | 12070 | 17140 | 23530 | 34050 |
| 750 | 2140 | 2950 | 4260 | 5820 | 8050 | 12050 | 17110 | 23490 | 34020 | ||
| 1000 | 2130 | 2940 | 4250 | 5810 | 8030 | 12030 | 17080 | 23450 | 33990 | ||
| 1500 | 2120 | 2920 | 4230 | 5790 | 7660 | 12010 | 17060 | 23410 | 33970 | ||
| 13 | 600 | 2040 | 2800 | 4030 | 5250 | 7640 | 11440 | 16250 | 22290 | 32080 | |
| 750 | 2020 | 2780 | 4020 | 5280 | 7620 | 11410 | 16230 | 22260 | 32040 | ||
| 1000 | 2010 | 2770 | 4000 | 5210 | 7600 | 11390 | 16200 | 22230 | 32030 | ||
| 1500 | 1990 | 2760 | 3990 | 5200 | 7580 | 11370 | 16170 | 22200 | 32000 | ||
表7 升單級、兩級減速器圓周速度m/s
| 傳動比 代號 |
公稱 傳動比 |
n1 r/min | 型號 | ||||||||
| NGW-LDF42 | NGW-LDF52 | NGW-LDF62 | NGW-LDF72 | NGW-LDF82 | NGW-LDF92 | NGW-LDF102 | NGW-LDF112 | NGW-LDF122 | |||
| 1 | 4 | 600 | 1.37 | 1.48 | 1.70 | 1.88 | 2.21 | 2.36 | 2.64 | 4.24 | 4.71 |
| 750 | 1.71 | 1.86 | 2.14 | 2.34 | 2.65 | 2.95 | 3.38 | 5.31 | 5.89 | ||
| 1000 | 2.28 | 2.46 | 2.85 | 3.14 | 3.54 | 3.93 | 4.39 | 7.07 | 7.85 | ||
| 1500 | 3.42 | 3.71 | 4.28 | 4.72 | 5.30 | 5.89 | 6.61 | 10.60 | 11.78 | ||
| 2 | 4.5 | 600 | 1.22 | 1.37 | 1.53 | 1.74 | 1.95 | 2.17 | 1.71 | 3.90 | 4.33 |
| 750 | 1.53 | 1.72 | 1.91 | 2.18 | 2.44 | 2.71 | 2.18 | 4.88 | 5.41 | ||
| 1000 | 2.04 | 2.29 | 2.54 | 2.89 | 3.26 | 3.62 | 2.81 | 6.52 | 7.21 | ||
| 1500 | 3.05 | 3.43 | 3.82 | 4.34 | 4.89 | 5.42 | 4.34 | 9.77 | 10.81 | ||
| 3 | 5 | 600 | 1.15 | 1.24 | 1.44 | 1.60 | 1.81 | 2.01 | 2.31 | 3.62 | 4.02 |
| 750 | 1.45 | 1.55 | 1.50 | 2.10 | 2.26 | 2.51 | 2.89 | 4.53 | 5.03 | ||
| 1000 | 1.93 | 2.07 | 2.41 | 2.68 | 3.02 | 3.35 | 3.85 | 6.03 | 6.70 | ||
| 1500 | 2.89 | 3.10 | 3.61 | 4.02 | 4.52 | 5.03 | 5.78 | 9.05 | 10.05 | ||
| 4 | 5.6 | 600 | 0.89 | 0.99 | 1.14 | 1.30 | 1.47 | 1.66 | 1.85 | 2.95 | 3.30 |
| 750 | 1.12 | 1.24 | 1.42 | 1.63 | 1.84 | 2.07 | 2.32 | 3.68 | 4.13 | ||
| 1000 | 1.48 | 1.66 | 1.89 | 2.18 | 2.46 | 2.76 | 3.07 | 4.90 | 5.51 | ||
| 1500 | 2.23 | 2.48 | 2.84 | 3.27 | 3.68 | 4.42 | 4.61 | 7.35 | 8.26 | ||
| 5 | 6.3 | 600 | 0.83 | 0.93 | 1.06 | 1.18 | 1.34 | 1.59 | 1.68 | 20.8 | 3.01 |
| 750 | 1.04 | 1.17 | 1.33 | 1.49 | 1.67 | 1.87 | 2.09 | 3.38 | 3.77 | ||
| 1000 | 1.39 | 1.54 | 1.76 | 1.98 | 2.23 | 2.52 | 2.78 | 4.45 | 5.02 | ||
| 1500 | 2.08 | 2.31 | 2.64 | 2.97 | 3.34 | 3.77 | 4.19 | 6.67 | 7.53 | ||
| 6 | 7.1 | 600 | 0.77 | 0.85 | 0.97 | 1.08 | 1.22 | 1.37 | 1.52 | 2.43 | 2.73 |
| 750 | 0.96 | 1.06 | 1.22 | 1.35 | 1.58 | 1.72 | 1.89 | 3.03 | 3.40 | ||
| 1000 | 1.28 | 1.42 | 1.62 | 1.79 | 2.03 | 2.28 | 2.53 | 4.05 | 4.54 | ||
| 1500 | 1.92 | 2.13 | 2.43 | 2.68 | 3.04 | 3.42 | 3.79 | 6.09 | 6.82 | ||
| 7 | 8 | 600 | 0.70 | 0.77 | 0.87 | 0.98 | 1.09 | 1.27 | 1.37 | 2.20 | 2.38 |
| 750 | 0.87 | 0.96 | 1.09 | 1.22 | 1.38 | 1.55 | 1.71 | 2.75 | 3.09 | ||
| 1000 | 1.16 | 1.28 | 1.48 | 1.63 | 1.83 | 2.06 | 2.29 | 2.66 | 4.12 | ||
| 1500 | 1.75 | 1.92 | 2.19 | 2.49 | 2.75 | 3.09 | 3.44 | 5.59 | 6.18 | ||
| 8 | 9 | 600 | 0.63 | 0.68 | 0.78 | 0.88 | 0.99 | 1.18 | 1.24 | 1.98 | 2.24 |
| 750 | 0.785 | 0.86 | 0.98 | 1.10 | 1.24 | 1.34 | 1.55 | 2.48 | 2.79 | ||
| 1000 | 1.04 | 1.14 | 1.30 | 1.47 | 1.65 | 1.87 | 2.07 | 3.30 | 3.72 | ||
| 1500 | 1.57 | 1.71 | 1.95 | 2.20 | 2.48 | 2.79 | 3.09 | 4.96 | 5.58 | ||
| 9 | 10 | 600 | 0.55 | 0.64 | 0.73 | 0.80 | 0.90 | 1.02 | 1.13 | 1.89 | 2.04 |
| 750 | 0.68 | 1.83 | 0.92 | 1.00 | 1.13 | 1.28 | 1.42 | 2.27 | 2.54 | ||
| 1000 | 0.92 | 1.07 | 1.23 | 1.34 | 1.52 | 1.68 | 1.88 | 3.02 | 3.39 | ||
| 1500 | 1.38 | 1.61 | 1.83 | 2.07 | 2.27 | 2.54 | 2.83 | 4.53 | 5.09 | ||
2 圓周速度
本系列減速器的齒輪圓周速度均指齒輪相對于行星架的圓周速度,各級減速器的齒輪圓周速度見表7。
3 選用方法
3.1 選用NGW-LDF型行星減速器時,應根據下列計算選擇:
PX=PS·K1·K2或TX=TS·K1·K2
式中:PX——選用輸入功率KW
PS——實際輸入功率KW
TX——選用輸出扭矩N·m
TS——實際輸出扭矩N·m
K1——使用系數,見表1
K2——與潤滑有關的系數,當減速器采用油池潤滑時,K2推薦值見表2。
根據計算出的PX或TX和其它已知條件,按表1~表6選用減速器,應滿足PX≤P1或PX≤T1,T1為列表值。
3.2 減速器的最大尖峰負荷為許用負荷能力的2.5倍,當按上述方法所選減速器,其實際尖峰負荷超過許用值時,可按1/2.5的實際尖峰負荷即(Pmax/2.5、Tmax/2.5另選。
3.3 當高速軸的轉速低于600r/min,按n1=600r/min的低速軸許用扭矩選用。
NGW-LDF型立式行星齒輪減速器安裝使用和維護
1 安裝要求
1.1 減速器與電動機、工作機器之間的聯結應采用彈性聯軸器、齒式聯軸器或其它非剛性聯軸器。現一般推薦采用尼龍柱銷聯軸器,它具有結構緊湊,制造容易,安全可靠,維修方便的特點,廠家根據用戶需要可供應尼龍柱銷聯軸器,隨減速器配套出廠。
1.2 減速器的安裝誤碼率差不得大于所用聯軸器允許值。
1.3 減速器安裝調整找正后,必須將地腳螺栓固牢于基礎或底座上。
1.4 減速器安裝后用手轉動必須靈活,不得有卡滯現象。
2 負荷試車
2.1 減速器在安裝后正式投入生產前必須進行負荷試車。負荷試車前先空運轉2小時,在空運轉正常的情況下方能開始負荷試車。在條件許可時應按以下四個階段逐步加載;
第一階段為額定負載的25%;
第二階段為額定負載的50%;
第三階段為額定負載的75%;
第四階段為額定負載的100%;
2.2 每一階段過轉時間以油溫平衡為準,但不得少于2小時,最高油溫不得超過80℃,機體溫升不得超過45℃。若現場條件不能逐步加載試車時,最少必須空運轉2小時及滿負荷運轉4小時。
2.3 試車時應經常注意運轉情況,檢查軸承發熱程度,噪音和漏油等現象以及齒輪工作表面的狀況。
3 潤滑
3.1 本減速器有油池潤滑和循環潤滑兩種。對環境溫度較高,功率較大、轉速較快或連續工作的減速器應盡可能采用循環潤滑,以降低油溫充分發揮減速器的承載能力。
廠家均按油池潤滑形式生產,如用戶需要用循環潤滑時,可以自行修改補充,或訂貨時聲明提出。廠家可提供循環冷卻裝置。
3.2 油池潤滑的油面較高,規定當減速器靜止不去運轉時,油面控制在油標器兩刻線間偏上的位置。
3.3 潤滑油推薦用N100或N150號中極壓工業齒輪油(BG491-65)。低速軸軸承采用鈣基潤滑脂,代號為ZG4或ZG5(GB491-65),用油輪從黃油嘴處注入。
3.4 潤滑油的更換期:
新減速器(或新更換的齒輪)第一次使用,運轉10-15天后,更換一次潤滑油。
在正常情況下,每天24小時連續工作的減速器,不超過三個月更換一次潤滑油;每天工作10小時以下的減速器,不超過六個月更換一次潤滑油。
4 維修保養
4.1 在工作過程中當發現油溫顯著升高且超過80℃、油的質量變壞以及產生不正常噪音等現象時應停止使用,不超過六個月更換一次潤滑油。
4.2 在減速器的伸出軸端和聯軸器上應裝設防護罩。
4.3 減速器應在半年之內檢查一次,備件必須按圖紙要求制造。更換備件的減速器必須結實過跑合和負荷試車后方能正式使用。
4.4 減速器應經常保持清潔,外露表面不得堆積灰塵及臟物以免影響散熱。
4.5 用戶應有合理的使用維護保養制度,對減速器的運轉情況和檢修中發現的問題,應作詳細記錄。
| 頁次:1/1 每頁10條 共6條信息 分頁:[1] |
