Product list產品列表
Customer service在線客服
產品展示
一、概述
Y-H系列為全封閉,自扇冷式、船用三箱籠型異步電動機,適用于船舶上作驅動各種機械,如泵類、通風機、分離器、液壓機械及其他輔助設備等用。
該系列是Y系列三相異步電動機的派生產品,具有效率高和起動轉矩大等優點。
電動機是按國家標準GB755—1987《旋轉電機基本基本技術要求》和ZC《鋼制海船建造規范》設計的,并經國家船檢局認可。
電動機也符合以下標準和規范的有關要求:
IEC34 旋轉電機
IEC72旋轉電機安裝尺寸及功率等級
IEC92 穿用電器設備(裝置)
IEC68 基本環境試驗程序
電動機還符合下列船及社規范:
LR 英國勞氏船級社
GL 德國勞氏船極社
NK 日本海事協會(日本船級社)
使用條件冷卻介質溫度不超過50℃;海拔為0m;空氣相對濕度不大于95%;傾斜為22.5°;可在有凝露、煙霧、油霧、霉菌、沖擊和振動環境中。
電動機的額定電壓為380V、50HZ與440V、60H.工作額定為連續工作制(S1)。
電動機在3KW及以下為Y聯結,其于為△聯結。
電動機采用滿壓直接起動,在空載和輕載時,允許采用降壓起動。
型號含義

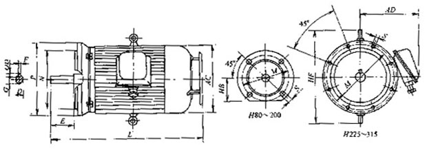
二、結構簡介
Y-H系列電動機的防護等級為IP44,絕緣等級為B級。電動機的機座、端蓋和軸承蓋材料采用灰口鑄鐵HT20-40(GB 976-1967),機座表面鑄有軸向散熱筋,能增加冷卻效果。
電動機一般只有一個圓柱形軸伸。根據用戶要求,對B3和B35型的電動機可制成兩個軸伸。第二個軸伸僅能用聯軸器傳遞額定功率。轉軸材料采用45號優質鋼(GB 699-1965)。
電動機的接線盒位于機座右側,從主軸伸端視之。若接線盒裝于機座左側,則必須在定貨時加以說明。接線盒內有六個接線栓,接線盒蓋內有接線圖,接線標志全部符合IEC34—8(1977)的規定。兩個相鄰導電零件的間隙不小于8mm;所有漏電距離不小于12mm。接線盒內另有一個供接地用的接線柱。
電動機有四種基本安裝型式:
I MB 3:機座帶底腳,端蓋上無凸緣的結構型式;
IMB 35:機座帶底腳,端蓋上帶大于機座的凸緣結構型式;
IMB 5:機座不帶底腳,端蓋上帶大于機座的凸緣結構型式;
IMV 1:機座不帶底腳,端蓋上帶大于機座的凸緣結構型式,軸伸向下。
表1 Y-H系列電動機用的軸承型號和規格表
中心高 |
極數 |
軸承 | ||
主軸伸端 |
非軸伸端 | |||
80 |
2、4 |
180 204Z1 |
180 204Z1 | |
90 |
2、4、6 |
180 205 Z1 |
180 205Z1 | |
100 |
2、4、6 |
180 206 Z1 |
180 206Z1 | |
112 |
2、4、6、8 |
180 306 Z1 |
180 306Z1 | |
132 |
2、4、6、8 |
180 308 Z1 |
180 308Z1 | |
160 |
2/4、6、8 |
309Z1/2309Z1 |
309Z1/309Z1 | |
180 |
2/4、6、8 |
311Z1/2311Z1 |
311Z1/311Z1 | |
200 |
2/4、6、8 |
312Z1/2312Z1 |
312Z1/312Z1 | |
225 |
2/4、6、8 |
313Z1/2313Z1 |
313Z1/314Z1 | |
250 |
2/4、6、8 |
314Z1/2314Z1 |
314Z1/314Z1 | |
280 |
2/4、6、8 |
314Z1/2317Z1 |
314Z1/317Z1 | |
315(B3、B35) |
2/4、6、8、10 |
316Z1/46316 |
316Z1/316Z1 | |
表2 Y-H系列電動機的功率、轉速與機座號對應關系表 (50HZ 380V)
機座號
(中心高) |
功率/KW | ||||
2極 |
4極 |
6極 |
8極 |
10極 | |
3000 r/min |
1500 r/min |
1000 r/min |
750 r/min |
600r/min | |
80 |
0.75 |
0.55 |
— |
|
— |
1.1 |
0.75 | ||||
90S |
1.5 |
1.1 |
0.75 | ||
90L |
2.2 |
1.5 |
1.1 | ||
100L |
3 |
2.2 |
1.5 | ||
3 | |||||
112M |
4 |
4 |
2.2 | ||
132S |
5.5 |
5.5 |
3 |
2.2 | |
7.5 | |||||
132M |
— |
7.5 |
4 |
3 | |
5.5 | |||||
160M |
11 |
11 |
7.5 |
4 | |
15 |
5.5 | ||||
160L |
18.5 |
15 |
11 |
7.5 | |
180M |
22 |
18.5 |
— |
— | |
180L |
— |
22 |
15 |
11 | |
200L |
30 |
30 |
18.5 |
15 | |
37 |
22 | ||||
225S |
— |
37 |
— |
18.5 | |
225M |
45 |
45 |
30 |
22 | |
250M |
55 |
55 |
37 |
30 | |
280S |
75 |
75 |
45 |
37 | |
280M |
90 |
90 |
55 |
45 | |
315S |
110 |
110 |
75 |
55 |
45 |
315M |
132 |
132 |
90 |
75 |
55 |
315L1 |
160 |
160 |
110 |
90 |
— |
315L2 |
200 |
200 |
132 |
110 |
75 |
表3
型號 |
額定功率/(r/min) |
滿載時 | |||||||
轉速/(r/min) |
電流/A |
效率(%) |
功率因數 | ||||||
50HZ
380V |
60HZ
440V |
50HZ
380V |
60HZ
440V |
50HZ
380V |
60HZ
440V |
50HZ
380V |
60HZ
440V | ||
Y801-2H |
0.75 |
2830 |
3460 |
1.81 |
1.57 |
75 |
76.5 |
0.84 |
0.82 |
Y802-2H |
1.1 |
2.57 |
2.19 |
76.5 |
77.5 |
0.85 |
0.85 | ||
Y90S-2H |
1.5 |
2840 |
3470 |
305 |
3.075 |
79.5 |
80 |
0.82 |
0.80 |
Y90L-2H |
2.2 |
4.88 |
4.27 |
82.5 |
83.5 |
0.83 |
0.81 | ||
Y100L-2H |
3.0 |
2870 |
3490 |
6.237 |
5.45 |
84 |
84 |
0.87 |
0.86 |
Y112M-2H |
4.0 |
2890 |
3500 |
8.17 |
7.18 |
86.5 |
87 |
0.86 |
0.84 |
Y132 S1-2H |
5.5 |
2900 |
3520 |
10.97 |
9.43 |
86.5 |
86 |
0.88 |
0.87 |
Y132 S2-2H |
7.5 |
14.6 |
12.85 |
87.5 |
87 |
0.89 |
0.88 | ||
Y160M1-2H |
11 |
2930 |
3540 |
21.58 |
18.75 |
89 |
88.5 |
0.87 |
0.87 |
Y160M2-2H |
15 |
28.9 |
25.56 |
89.5 |
90 |
0.88 |
0.88 | ||
Y160L-2H |
18.5 |
35.68 |
30.3 |
89.5 |
90 |
0.88 |
0.89 | ||
Y180M-2H |
22 |
2940 |
3550 |
42.4 |
36.86 |
89.5 |
89 |
0.88 |
0.88 |
Y200L1-2H |
30 |
2950 |
3560 |
57.87 |
49.1 |
89.5 |
89 |
0.88 |
0.88 |
Y200L2-2H |
37 |
69.4 |
60.3 |
92 |
91.5 |
0.88 |
0.88 | ||
Y225M-2H |
45 |
2970 |
3570 |
85.8 |
76.3 |
90.5 |
90 |
0.86 |
0.86 |
Y250M-2H |
55 |
3570 |
103.2 |
91.66 |
92 |
90.5 |
0.88 |
0.87 | |
Y280S-2H |
75 |
3580 |
139.2 |
120.8 |
92 |
91.5 |
0.89 |
0.89 | |
Y280M-2H |
90 |
167 |
143.4 |
93 |
92.5 |
0.88 |
0.89 | ||
Y315S-2H |
110 |
2940 |
3546 |
202.4 |
175.4 |
92.5 |
92.5 |
0.89 |
0.89 |
Y315M-2H |
132 |
2940 |
3546 |
241.6 |
209.3 |
93 |
93 |
0.89 |
0.89 |
Y315L1-2H |
160 |
2955 |
3564 |
291.3 |
252.3 |
93.5 |
93.5 |
0.89 |
0.89 |
Y315L2-2H |
200 |
2955 |
3564 |
364.2 |
315.4 |
93.5 |
93.5 |
0.89 |
0.89 |
Y801-4H |
0.55 |
1390 |
1710 |
1.54 |
1.37 |
72.5 |
74 |
0.75 |
0.71 |
Y802-4H |
0.75 |
1390 |
1710 |
2.05 |
1.8 |
74 |
76 |
0.75 |
0.72 |
Y90S-4H |
1.1 |
1400 |
1710 |
2.57 |
2.64 |
78 |
79 |
0.78 |
0.75 |
Y90L- 4H |
1.5 |
1400 |
1710 |
3.61 |
30.18 |
79 |
80.5 |
0.80 |
0.77 |
Y100L1-4H |
2.2 |
1430 |
1740 |
5.06 |
4.49 |
81.5 |
82.5 |
0.81 |
0.78 |
Y100L2-4H |
3 |
1430 |
1740 |
6.78 |
5.94 |
83 |
85 |
0.81 |
0.78 |
堵轉轉矩 |
堵轉轉矩 |
堵轉視在功率 |
轉動慣量
(kg·m2) |
重量
Kg | |||
額定轉矩 |
額定轉矩 |
額定功率 | |||||
50HZ
380V |
60HZ
440V |
50HZ
380V |
60HZ
440V |
50HZ
380V |
60HZ
440V | ||
1.9 |
2.1 |
13 |
0.00075 |
16 | |||
0.00090 |
17 | ||||||
0.0012 |
22 | ||||||
0.0014 |
25 | ||||||
0.0029 |
35 | ||||||
0.0055 |
48 | ||||||
1.5 |
2.0 |
0.0109 |
67 | ||||
12 |
0.0126 |
72 | |||||
1.8 |
0.0377 |
122 | |||||
0.0449 |
130 | ||||||
0.0550 |
152 | ||||||
0.075 |
180 | ||||||
1.7 |
1.9 |
11 |
0.124 |
240 | |||
0.139 |
255 | ||||||
0.233 |
309 | ||||||
0.312 |
403 | ||||||
0.597 |
544 | ||||||
0.675 |
620 | ||||||
1.43 |
1.9 |
10 |
— |
— | |||
2.0 |
2.1 |
13 |
0.0018 |
17 | |||
1.9 |
0.0021 |
19 | |||||
0.0021 |
22 | ||||||
0.0027 |
27 | ||||||
0.0054 |
34 | ||||||
0.0067 |
38 | ||||||
型號 |
額定功率
(r/min) |
滿載時 | |||||||
轉速/(r/min) |
電流/A |
效率(%) |
功率因數 | ||||||
50HZ
380V |
60HZ
440V |
50HZ
380V |
60HZ
440V |
50HZ
380V |
60HZ
440V |
50HZ
380V |
60HZ
440V | ||
Y112M-4H |
4 |
1440 |
1750 |
8.88 |
7.73 |
84.5 |
86 |
0.81 |
0.79 |
Y132S-4H |
5.5 |
1440 |
1750 |
11.7 |
10 |
86 |
88 |
0.83 |
0.82 |
Y 132 M-4H |
7.5 |
1440 |
1750 |
15.4 |
13.24 |
87 |
88.5 |
0.85 |
0.84 |
Y132M-4H |
11 |
1460 |
1760 |
22.75 |
19.54 |
88.5 |
89 |
0.83 |
0.83 |
Y160L-4H |
15 |
1460 |
1760 |
30.48 |
26.3 |
89 |
90 |
0.84 |
0.83 |
Y1.5M-4H |
18.5 |
1470 |
1770 |
35.9 |
30.8 |
91 |
91.5 |
0.86 |
0.86 |
Y180L-4H |
22 |
1470 |
1770 |
42.2 |
36.89 |
91 |
91.99 |
0.87 |
0.86 |
Y180S-4H |
30 |
1480 |
1780 |
57.6 |
49.75 |
91.5 |
92 |
0.87 |
0.86 |
Y180S-4H |
37 |
1480 |
1780 |
70.6 |
60.32 |
92 |
92.5 |
0.88 |
0.87 |
Y225M-4H |
45 |
1480 |
1780 |
83.99 |
73.4 |
92.5 |
92.5 |
0.88 |
0.87 |
Y250M-4H |
55 |
1480 |
1780 |
102.65 |
88.66 |
92.5 |
92.5 |
0.88 |
0.88 |
Y280S-4H |
75 |
1480 |
1780 |
139.98 |
120.9 |
93 |
93.5 |
0.89 |
0.88 |
Y280M-4H |
90 |
1480 |
1780 |
167 |
141.9 |
93.5 |
93.5 |
0.89 |
0.89 |
Y315S-4H |
110 |
1470 |
1764 |
200.3 |
173.5 |
93.5 |
93.5 |
0.89 |
0.89 |
Y315M-4H |
132 |
1470 |
1773 |
239.1 |
207.1 |
94 |
94 |
0.89 |
0.89 |
Y315L1-4H |
160 |
1478 |
1773 |
288.2 |
249.7 |
94.5 |
94.5 |
0.89 |
0.89 |
Y315L2-4H |
200 |
1478 |
1773 |
360.3 |
312.1 |
94.5 |
94.5 |
0.70 |
0.89 |
Y90S-4H |
0.75 |
910 |
1130 |
2.24 |
1.98 |
72.5 |
94 |
0.71 |
0.67 |
YYLY90L-4H |
1.1 |
910 |
1130 |
3.25 |
2.87 |
72.5 |
94 |
0.73 |
0.68 |
Y100L-4H |
1.5 |
940 |
1150 |
4.03 |
3.54 |
77.5 |
79.5 |
0.72 |
0.70 |
Y112M-4H |
2.2 |
940 |
1150 |
5.84 |
5.18 |
79.5 |
82 |
0.72 |
0.68 |
Y132S-4H |
3.0 |
960 |
1170 |
7.14 |
6.37 |
83.5 |
83.5 |
0.76 |
0.74 |
Y132M1-4H |
4.0 |
960 |
1170 |
9.52 |
8.25 |
84 |
86 |
0.76 |
0.74 |
Y180M2-4H |
5.5 |
960 |
1170 |
12.46 |
10.7 |
86 |
87.5 |
0.78 |
0.77 |
Y160M -4H |
7.5 |
970 |
1170 |
17.13 |
14.8 |
87.5 |
88.5 |
0.76 |
0.75 |
Y160L-4H |
11 |
970 |
1170 |
25 |
21.75 |
88 |
88.5 |
0.76 |
0.75 |
Y180L-4H |
15 |
970 |
1180 |
33 |
29.26 |
88.5 |
88.5 |
0.78 |
0.76 |
Y200L1- |
18.5 |
970 |
1180 |
37.6 |
32.7 |
90 |
90.5 |
0.83 |
0.82 |
堵轉轉矩 |
堵轉轉矩 |
堵轉視在功率 |
轉動慣量/(kg·m2) |
重量/Kg | |||
額定轉矩 |
額定轉矩 |
額定功率 | |||||
50HZ
380V |
60HZ
440V |
50HZ
380V |
60HZ
440V |
50HZ
380V |
60HZ
440V | ||
1.9 |
2.1 |
13 |
0.009 |
52 | |||
1.8 |
2.0 |
, , ,
0.0214 |
70 | ||||
12 |
0.0296 |
80 | |||||
0.0747 |
130 | ||||||
0.0918 |
149 | ||||||
0.139 |
182 | ||||||
0.158 |
192 | ||||||
1.7 |
1.9 |
11 |
0.262 |
270 | |||
0.406 |
284 | ||||||
0.469 |
338 | ||||||
0.66 |
427 | ||||||
1.12 |
562 | ||||||
1.6 |
1.46 |
667 | |||||
1.43 |
10 |
— |
— | ||||
— |
— | ||||||
— |
— | ||||||
— |
— | ||||||
1.8 |
2.0 |
13 |
0.0029 |
23 | |||
0.0035 |
25 | ||||||
0.0069 |
33 | ||||||
0.0138 |
48 | ||||||
0.0286 |
65 | ||||||
0.0357 |
75 | ||||||
0.0449 |
82 | ||||||
1.7 |
1.9 |
12 |
0.0881 |
124 | |||
0.116 |
152 | ||||||
0.207 |
195 | ||||||
0.315 |
220 | ||||||
型號 |
額定功率/(r/min) |
滿載時 | |||||||
轉速/(r/min) |
電流/A |
效率(%) |
功率因數 | ||||||
50HZ
380V |
60HZ
440V |
50HZ
380V |
60HZ
440V |
50HZ
380V |
60HZ
440V |
50HZ
380V |
60HZ
440V | ||
Y200L2-6H |
22 |
970 |
1180 |
44.8 |
38.9 |
90 |
90.5 |
0.83 |
0.82 |
Y200M-6H |
30 |
980 |
1180 |
61.1 |
53.1 |
91 |
91.5 |
0.82 |
0.81 |
Y250M-6H |
37 |
980 |
1180 |
71 |
61.3 |
91 |
91 |
0.87 |
0.87 |
Y280S-6H |
45 |
980 |
1190 |
86.4 |
75.5 |
92 |
92 |
0.86 |
0.85 |
Y280M-6H |
55 |
980 |
1190 |
103.2 |
89.7 |
92 |
92.5 |
0.88 |
0.87 |
Y315S-6H |
75 |
970 |
1170 |
140.8 |
121.9 |
92.8 |
92.8 |
0.87 |
0.87 |
Y315M-6H |
90 |
970 |
1170 |
168.2 |
145.7 |
93.2 |
93.2 |
0.87 |
0.87 |
Y315L1-6H |
110 |
975 |
1176 |
204.9 |
177.5 |
93.5 |
93.5 |
0.87 |
0.87 |
Y315L2-6H |
132 |
245.1 |
212.5 |
93.8 |
93.8 |
0.87 |
0.87 | ||
Y132S-8H |
2.2 |
710 |
860 |
5.8 |
5.2 |
80 |
81 |
0.72 |
0.68 |
Y132M-8H |
3 |
7.57 |
6.83 |
82.5 |
83.5 |
0.73 |
0.69 | ||
Y160M1-8H |
4 |
720 |
870 |
10.48 |
9.1 |
84 |
86 |
0.69 |
0.67 |
Y160M2-8H |
5.5 |
13.38 |
11.52 |
85.5 |
87 |
0.73 |
0.72 | ||
Y160L-8H |
7.5 |
17.66 |
15.5 |
86 |
87 |
0.75 |
0.73 | ||
Y180L-8H |
11 |
730 |
880 |
25.6 |
22.17 |
87 |
88 |
0.75 |
0.74 |
Y200L-8H |
15 |
33.25 |
29.2 |
89 |
90 |
0.77 |
0.75 | ||
Y225S-8H |
18.5 |
40.33 |
35.57 |
90.5 |
91 |
0.77 |
0.75 | ||
Y225M-8H |
22 |
47.33 |
41.74 |
90.5 |
91 |
0.78 |
0.76 | ||
Y250M-8H |
30 |
890 |
64.69 |
57.1 |
91.5 |
92 |
0.77 |
0.75 | |
Y280S-8H |
37 |
79.78 |
68.9 |
91.5 |
91.5 |
0.77 |
0.77 | ||
Y280M-8H |
45 |
740 |
94.75 |
80.8 |
92.5 |
92.5 |
0.78 |
0.79 | |
Y315S-8H |
55 |
724 |
873 |
113.2 |
98.1 |
92 |
92 |
0.80 | |
Y315M-8H |
75 |
151.7 |
131.4 |
92.5 |
92.5 |
0.81 | |||
Y315L1-8H |
90 |
728 |
878 |
178.8 |
154.9 |
93 |
93 |
0.82 | |
Y315L2-8H |
110 |
217.8 |
188.7 |
93.3 |
93.3 |
堵轉轉矩 |
堵轉轉矩 |
堵轉視在功率 |
轉動慣量/(kg·m2) |
重量/Kg | |||
額定轉矩 |
額定轉矩 |
額定功率 | |||||
50HZ
380V |
60HZ
440V |
50HZ
380V |
60HZ
440V |
50HZ
380V |
60HZ
44110V | ||
1.7 |
1.9 |
12 |
0.360 |
250 | |||
1.5 |
1.8 |
11 |
0.547 |
292 | |||
| |||||||
0.834 |
408 | ||||||
1.39 |
536 | ||||||
— |
— | ||||||
1.36 |
1.7 | ||||||
10 | |||||||
13 |
0.0314 |
65 | |||||
1.7 |
1.9 |
0.0395 |
81 | ||||
0.0753 |
123 | ||||||
0.0931 |
127 | ||||||
12 |
0.126 |
150 | |||||
0.203 |
184 | ||||||
1.5 |
1.8 |
0.339 |
250 | ||||
0.491 |
288 | ||||||
0.547 |
321 | ||||||
11 |
0.834 |
405 | |||||
1.39 |
537 | ||||||
1.65 |
592 | ||||||
11 |
— |
— | |||||
1.36 |
1.7 | ||||||
10 | |||||||
表4 Y-H(380V 50HZ)H315mm
型號 |
額定
功率/KW |
額定
電流/A |
額定轉速
(r/min) |
效率
(%) |
功率
因數 |
堵轉轉矩 |
最大轉矩 |
堵轉電流 |
外形尺寸 mm |
重量
Kg | ||
額定轉矩 |
額定轉矩 |
額定電流 |
長 |
寬 |
高 | |||||||
Y315S-2-H
Y315M-2-H
Y315L1-2-H
Y315L2-2-H
Y315S-4-H
Y315M-4-H
Y315L2-4-H
Y315L1-4-H
Y315S-6-H
Y315M-6-H
Y315L1-6-H
Y315L2-6-H
Y315S-8-H
Y315M-8-H
Y 315L1-8-H
Y 315L2-8-H
Y 315S-10-H
Y315M-10-H
Y 315L-10-H |
110
132
160
200
110
132
160
200
75
90
110
132
55
75
90
110
45
55
75 |
200
237
286
366
201
241
291
362
141
168
204
245
111
150
179
219
99
120
161 |
2980
2980
2980
2980
1480
1490
1490
1490
990
990
990
990
740
740
740
740
590
590
590 |
93
94
94.5
93.5
93.5
93.5
94
94.5
93
93.5
94
94
92
92.5
93
93
91
91.5
92 |
0.90
0.90
0.90
0.89
0.89
0.89
0.89
0.89
0.87
0.87
0.87
0.87
0.82
0.82
0.83
0.82
0.76
0.76
0.77 |
1.8
1.8
1.8
1.8
1.8
1.8
1.8
1.8
1.6
1.6
1.6
1.6
1.6
1.6
1.6
1.6
1.4
1.4
1.4 |
2.2
2.2
2.2
2.2
2.2
2.2
2.2
2.2
2.0
2.0
2.0
2.0
2.0
2.0
2.0
2.0
2.0
2.0
2.0 |
6.8
6.8
6.8
6.8
6.8
6.8
6.8
6.8
6.5
6.5
6.5
6.5
6.5
6.5
6.5
6.5
6.0
6.0
6.0 |
1260
1330
1330
1330
1360
1360
1360
1360
1300
1360
1360
1360
1360
1360
1360
1360
1360
1360
1360 |
1030
1030
1030
1030
1030
1030
1030
1030
1030
1030
1030
1030
1030
1030
1030
1030
1030
1030
1030 |
950
950
950
950
950
950
950
950
950
950
950
950
950
950
950
950
950
950
950 |
980
1080
1160
1232
1000
1100
1160
1296
990
1080
1150
1210
990
1080
1150
1210
990
1150
122 |
表5 Y-H(400v 50HZ)IP44
型號 |
額定功率
KW |
額定電流
A |
額定轉速
(r/min) |
效率
(%) |
功率
因數 |
堵轉轉矩 |
最大轉矩 |
堵轉電流 |
外形尺 mm |
重量
KG | ||
額定轉矩 |
額定轉矩 |
額定轉矩 |
長 |
寬 |
高 | |||||||
Y801-2-H
Y802-2-H
Y90S-2-H
Y90L-2-H
Y100L-2-H
Y112M-2-H
Y132S1-2-H
Y132S2-2-H
Y160M1-2-H
Y160M2-2-H
Y160L-2-H
Y180M-2-H
Y200L1-2-H
Y200L2-2-H
Y225M-2-H
Y250M-2-H
Y280S-2-H
Y280M-2-H
Y801-4-H
Y802-4-H
Y802-H
Y90S-H
Y90L-H
Y100L-H
Y100L2-H
Y112M-H
Y132S-H
Y132M-H
Y160L-H
Y 180M-H
Y180L-H
Y 200L-H
Y 225S-H
Y 225M-H
Y250M-H
Y 280S-H
Y 280M-H
Y90S-H
Y90L-H
Y 100L-H
Y112M-H
Y 132S-H
Y 132M1-H
Y132M2-H
Y160M-H
Y160M-H
Y180L-H
Y200L1-H
Y200L2-H
Y225M-H
Y250M-H
Y280S-H
Y280M-H
Y132S-H
Y132M-H
Y160M1-H
Y160M2-H
Y160L-H
Y180L-H
Y200L-H
Y225S-H
Y225M-H
Y250M-H
Y280S-H
Y280M-H |
0.75
1.1
1.5
2.2
3
4
5.5
7.5
11
15
18.5
22
30
37
45
55
75
90
0.55
0.75
1.1
1.5
2.2
3
4
5.5
7.5
11
15
18.5
22
30
37
45
55
75
90
0.75
1.1
1.5
2.2
3.0
4.0
5.5
7.5
11
15
18.5
22
30
37
45
55
2.2
3.0
4.0
5.5
7.5
11
15
18.5
22
30
37
45 |
1.9
2.6
3.4
4.7
6.4
8.2
11.1
15
21.8
29.4
35.5
42.2
56.9
69.6
85.8
103.2
139.2
167
1.6
2.1
2.7
3.7
5.0
6.8
8.8
11.6
15.4
22.6
30.3
35.9
42.5
56.9
70.6
84
102.7
140
167
2.3
3.2
4.0
5.6
7.2
9.4
12.6
17
24.6
31.4
38.1
44.7
61.1
71
86.4
103.2
5.8
7.7
9.9
13.3
17.7
25.1
34.1
40.3
47.7
64.7
79.8
94.8 |
2820
2820
2840
2840
2880
2890
2900
2900
2930
2930
2930
2940
2955
2960
2970
2970
2970
2970
1390
1390
1400
1400
1420
1420
1440
1440
1440
1460
1460
1470
1470
1476
1480
1480
1480
1480
1480
910
910
940
940
960
960
960
970
970
970
980
980
980
980
980
980
710
710
720
7
20
720
730
729
730
730
730
740 |
075
76.5
79.5
82.5
84
86.5
86.5
87.5
89
89.5
89.5
89.5
89.5
92
90.5
92
92
93
72.5
74
78
79
81.5
83
84.5
86
87
88.5
89
91
91
91.5
92
92.5
92.5
93
93.5
72.5
72.5
77.5
79.5
83.5
84
86
87.5
88
88.5
90
90
91
91
92
92
80
82.5
84
85.5
86
87
89
90.5
90.5
91.5
91.5
92.5 |
0.84
0.85
0.82
0.83
0.87
0.86
0.88
0.89
0.87
0.88
0.88
0.88
0.88
0.88
0.88
0.88
0.89
0.88
0.75
0.75
0.78
0.80
0.81
0.81
0.81
0.83
0.85
0.83
0.84
0.86
0.87
0.87
0.87
0.88
0.88
0.88
0.89
0.70
0.71
0.73
0.72
0.76
0.76
0.78
0.76
0.76
0.78
0.83
0.83
0.82
0.87
0.86
0.88
0.72
0.73
0.69
0.73
0.75
0.75
0.77
0.77
0.78
0.77
0.77
0.78 |
1.9
19
1.9
1.9
1.9
1.9
1.5
1.5
1.8
1.8
1.8
1.8
1.7
2.0
1.9
1.8
1.8
1.8
1.8
1.8
1.8
1.7
1.7
1.7
1.7
1.7
1.7
1.8
1.8
1.8
1.8
1.8
1.8
1.8
1.7
1.7
1.7
1.7
1.7
1.5
1.5
1.5
1.5
1.7
1.7
1.7
17
1.7
1.5
1.5
1.5
1.5
1.5
1.5
1.5 |
2.1
2.1
2.1
2.1
2.1
2.1
2.0
2.0
2.0
2.0
2.0
2.0
1.9
2.1
2.0
2.0
2.0
2.0
2.0
2.0
1.9
1.9
1.9
1.9
1.9
1.9
2.0
2.0
2.0
2.0
2.0
2.0
2.0
1.9
1.9
1.9
1.9
1.9
1.9
1.9
1.9
1.9
1.9
1.9
1.9
1.9
1.9
1.8
1.8
1.8
1.8
1.8
1.8
1.8 |
13
13
13
13
13
13
13
12
12 12
12
12
11
13
13
12
12
12
12
12
11
11
11
11
11
11
13
13
13
13
13
12
12
12
12
12
12
12
11
11
11
11
13
13
13
13
13
12
12
12
12
11
11
11 |
320
320
350
380
420
440
510
510
630
630
680
690
800
800
940
960
1040
1090
320
320
350
380
420
420
440
510
530
630
680
690
730
800
850
880
960
1040
1090
350
380
420
440
510
530
530
630
680
690
800
800
840
960
1040
1090
510
530
630
630
680
730
800
850
880
960
1040
1090 |
320
320
340
340
360
390
460
460
450
510
510
550
640
640
685
790
820
820
320
320
340
340
360
360
390
460
460
510
510
550
550
640
685
685
790
820
820
340
340
360
390
460
460
460
510
510
550
640
640
685
790
820
820
460
460
510
510
510
550
640
685
685
790
820
820 |
290
290
310
310
340
360
400
400
470
470
470
500
550
550
610
650
720
720
290
290
310
310
340
340
360
400
400
470
470
500
500
550
610
610
650
720
720
310
310
340
360
400
400
400
470
470
500
550
550
610
650
720
720
400
400
470
470
470
500
550
610
610
650
720
720 |
16
17
22
25
35
48
67
72
122
130
125
180
240
255
309
403
544
620
17
19
22
27
34
38
52
70
80
130
149
182
192
270
284
338
427
562
667
23
25
33
48
65
75
82
124
152
195
220
250
292
408
536
595
65
81
123
127
150
184
250
288
321
405
537
592 |
表6 Y-H系列電動機在空載時測得的振動速度有效值表
中心高/mm |
80~132 |
160~225 |
250~280 | |||
同步轉速/(r/min) |
600~1800 |
>960~1320 |
600~1800 |
>1800~3600 |
600~1800 |
>1800~3600 |
振動速度有效值/(mm/s) |
1.8 |
1.8 |
1.8 |
2.8 |
2.8 |
4.5 |
表7 Y-H系列在空載時的噪聲限植
同步轉速/(r/min) |
>600~960 |
>960~1320 |
>1320~1900 |
>1900>2360 |
>2360~3150 |
>3150~3600 |
功率/KW |
聲功率級/dB(A) | |||||
1.1以下 |
76 |
79 |
80 |
83 |
84 |
88 |
>1.1~2.2 |
79 |
80 |
83 |
87 |
89 |
91 |
>2.2~5.5 |
82 |
84 |
87 |
92 |
93 |
95 |
>5.5~11 |
85 |
88 |
91 |
96 |
97 |
100 |
>11~22 |
89 |
93 |
96 |
98 |
101 |
103 |
>22~37 |
91 |
95 |
87 |
100 |
103 |
105 |
>37~55 |
92 |
97 |
99 |
103 |
105 |
107 |
>55~110 |
96 |
101 |
104 |
105 |
107 |
109 |

表8 Y-H系列(80~315L)B3帶底腳,無凸緣電動機 (單位:mm)
型號 |
A |
B |
C |
D(DA) |
E |
F(FA) |
G(GB) |
GD(GF) |
H |
K |
AA |
AB |
AC |
AD |
BB |
HD |
L |
LC |
Y80-H |
125 |
100 |
50 |
19 |
40 |
6 |
15.5 |
6 |
80 |
φ10 |
38 |
165 |
165 |
160 |
135 |
205 |
290 |
335 |
Y80S-H |
140 |
56 |
24 |
50 |
8 |
20 |
7 |
90 |
40 |
180 |
180 |
175 |
|
320 |
370 | |||
Y90L-H |
125 |
160 |
350 |
400 | ||||||||||||||
Y100L-H |
160 |
140 |
63 |
28 |
60 |
24 |
100 |
φ12 |
45 |
205 |
205 |
185 |
180 |
250 |
385 |
445 | ||
Y112M-H |
190 |
70 |
112 |
55 |
245 |
230 |
195 |
185 |
270 |
405 |
465 | |||||||
Y132S-H |
216 |
89 |
38 |
80 |
10 |
33 |
8 |
132 |
65 |
280 |
270 |
245 |
205 |
320 |
480 |
560 | ||
Y132M-H |
178 |
245 |
520 |
595 | ||||||||||||||
Y160M-H |
254 |
210 |
108
|
42
|
110 |
12 |
37 |
160 |
φ15 |
75 |
330 |
325 |
270 |
275 |
385 |
605 |
720 | |
Y160L-H |
254 |
320 |
650 |
765 | ||||||||||||||
Y180M-H |
279 |
241 |
121 |
48 |
14 |
42.5 |
9 |
180 |
355 |
360 |
290 |
315 |
425 |
670 |
785 | |||
Y200L-H |
279 |
355 |
710 |
825 | ||||||||||||||
Y225M-H |
318 |
305 |
133 |
55(48) |
16(14) |
49(42.5) |
10(9) |
200 |
φ19 |
395 |
400 |
355 |
385 |
475 |
780 |
890 | ||
Y225S-H |
356 |
286 |
149 |
55/60(55) |
110/140 |
16/18(16) |
49/53(49) |
10/11(10) |
225 |
80 |
435 |
450 |
370 |
375 |
530
|
-/825 |
-/940 | |
Y225M-H |
311 |
495 |
400 |
820/850 |
930/990 | |||||||||||||
Y250M-H |
406 |
349 |
168 |
60/65(60) |
140 |
18 |
53/58(53) |
11 |
250 |
φ24 |
85 |
490 |
495 |
455 |
460 |
570 |
925 |
1075 |
Y280S-H |
457 |
368 |
190 |
65/75 |
18/20 |
58/67.5 |
11/12 |
280 |
90 |
550 |
550 |
470 |
535 |
640 |
1020 |
1160 | ||
Y280M-H |
419 |
585 |
1070 |
1210 | ||||||||||||||
Y315S-H |
508 |
406 |
216 |
65/180 |
140/170 |
18/20 |
58/71 |
11/14 |
315 |
φ28 |
120 |
744 |
630 |
576 |
610 |
865 |
1240/1270 |
|
Y315M-H |
457 |
660 |
1310/1340 | |||||||||||||||
Y315L12-H |
508 |
720 |
1310/1340 |
注:表中分式的分子為2極電動機數據,分母為4、6、8、10極數據,以下類同。

表9 Y-H系列(80~315L)B35帶底腳,有凸緣電動機 (單位:mm)
型號 |
A |
B |
C |
D(DA) |
E |
F(FA) |
G(GB) |
GD(GF) |
H |
K |
M |
N |
P |
HB |
Y80-H
Y90S-H
Y90L-H
Y100L-H
Y112M-H
Y132S-H
Y132M-H
Y160M-H
Y160L-H
Y180M-H
Y180L-H
Y200L-H
Y225S-H
Y225M-H
Y250M-H
Y280S-H
Y280M-H
Y315S-H
Y315M-H
Y315L12-H |
125
140
140
160
190
216
216
254
254
279
279
318
356
356
406
457
457
508
508
508 |
100
100
125
140
140
140
178
210
254
241
279
305
286
311
349
368
419
406
457
508 |
50
56
56
63
70
89
89
108
108
121
121
133
149
149
168
190
190
216
216
216 |
19
24
24
28
28
38
38
42
42
48
48
55(48)
55/60(55)
55/60(55)
60/65(60)
65/75
65/75
65/80
65/80
65/80 |
40
50
50
60
60
80
80
110
110
110
110
110
110/140
110/140
140
140
140
140/170
140/170
140/170 |
6
8
8
8
8
10
10
12
12
14
14
16(14)
16/18(16)
16/18(16)
18
18/20
18/20
18/20
18/20
18/20 |
15.5
20
20
24
24
33
33
37
37
42.5
42.5
49(42.5)
49/53(49)
49/53(49)
53/58(53)
58/67.5
58/67.5
58/71
58/71
58/71 |
6
7
7
7
7
8
8
8
8
9
9
10(9)
10/11(10)
10/11(10)
11
11/12
11/12
11/14
11/14
11/14 |
80
90
90
100
112
132
132
160
160
180
180
200
225
225
250
280
280
315
315
315 |
φ10
φ10
φ10
φ12
φ12
φ12
φ12
φ15
φ15
φ15
φ15
φ19
φ19
φ24
φ24
φ24
φ24
φ28
φ28
φ28 |
165
165
165
215
215
265
265
300
300
300
300
350
400
400
500
500
500
600
600
600 |
130
130
130
180
180
330
330
250
250
250
250
300
250
250
450
450
450
550
550
550 |
200
200
200
250
250
300
300
350
350
350
350
400
450
450
550
550
550
660
660
660 |
79
88
88
88
97
110
136
136
159
159
175
175
200
225
275
275
275
—
—
— |
型號 |
S |
AA |
AB |
AC |
AD |
EB |
HD |
L |
LC |
Y80-H
Y90S
Y 90L
Y90L
Y100L
Y112M
Y132S
Y132M
Y 160M
Y160L
Y180S
Y180M
Y180L
Y225M
Y250M
Y280S
Y280M
Y315S
Y315M
Y315L |
4 ×φ12
4×φ12
4×φ12
4×φ15
4×φ15
4×φ15
4×φ15
4×φ19
4×φ19
4×φ19
4×φ19
4×φ19
8×φ19
8×φ19
8×φ19
8×φ19
8×φ19
8×φ24
8×φ24
8×φ24 |
38
40
40
45
55
65
65
75
75
75
75
75
80
80
85
90
90
120
120
120 |
165
180
180
205
215
280
280
330
330
355
355
395
435
435
490
550
550
744
744
744 |
165
180
180
205
230
270
270
325
325
360
360
400
450
450
495
550
550
560
560
560 |
160
175
175
185
195
245
245
270
270
290
290
355
370
370
455
470
470
576
576
576 |
135
135
160
180
185
205
245
275
320
315
355
385
375
400
460
535
585
610
660
720 |
205
225
225
250
270
320
320
385
385
425
425
475
530
530
670
640
640
865
865
865 |
290
320
350
385
405
480
520
605
650
670
710
780
-/825
820/850
935
1020
1070
1240/1270
1310/1340
1320/1340 |
335
370
400
445
465
560
595
720
765
785
825
890
-/940
930/990
1075
1160
1210
—
—
— |
型號 |
S |
AA |
AB |
AC |
AD |
EB |
HD |
L |
LC |
Y 80-H
Y90S-H
Y90L-H
Y100L-H
Y112M-H
Y132S-H
Y132M-H
Y160M-H
Y160L-H
Y180M-H
Y180L-H
Y200L-H
Y225S-H
Y225M-H
Y250M-H
Y280S-H
Y280M-H
Y315S-H
Y315M-H
Y31512-H |
4×φ12
4×φ12
4×φ12
4×φ15
4×φ15
4×φ15
4×φ15
4×φ19
4×φ19
4×φ19
4×φ19
4×φ19
4×φ19
4×φ19
4×φ19
4×φ19
4×φ19
4×φ19
4×φ19
4×φ19 |
38
40
40
45
55
65
65
75
75
75
75
75
80
80
85
90
90
120
120
120 |
165
180
180
205
215
280
280
330
330
355
355
395
435
435
490
550
550
744
744
744 |
165
180
180
205
230
270
270
325
325
360
360
400
450
450
495
550
550
560
560
560 |
160
175
175
185
195
245
245
270
270
290
290
355
370
370
455
470
470
576
576
576 |
135
135
160
180
185
205
245
275
320
315
355
385
375
400
460
535
585
610
660
720 |
205
225
225
250
270
320
320
385
385
425
425
475
530
530
670
640
640
865
865
865 |
290
320
350
385
405
480
520
605
650
670
710
780
—/825
820/850
935
1020
1070
1240/1270
1310/1340
1310/1340 |
335
370
400
445
465
560
595
720
765
785
825
890
—/940
930/990
1075
1160
1210
—
—
— |

表10 Y-H系列(80~225M)B5無低腳,帶凸緣電動機 (單位:mm)
型號 |
D |
E |
F |
G |
GD |
M |
N |
S |
HB |
AC |
AD |
HF |
L |
Y80-H |
19 |
40 |
6 |
15.5 |
6 |
165 |
130 |
4×φ12 |
79 |
165 |
160 |
230 |
290 |
Y90S-H |
24 |
50 |
8 |
20 |
7 |
88 |
180 |
175 |
235 |
320
350 | |||
Y90L-H | |||||||||||||
Y100M-H |
28 |
60 |
24 |
215 |
180 |
4×φ15 |
97 |
205 |
185 |
275 |
385 | ||
Y112S-H |
110 |
230 |
195 |
285 |
405 | ||||||||
Y132M-H |
38 |
80 |
10 |
33 |
8 |
265 |
230 |
130 |
270 |
245 |
340 |
480 | |
Y160M-H |
520 | ||||||||||||
Y160L-H |
42 |
110 |
12 |
37 |
300 |
250 |
4×19φ |
159 |
325 |
270 |
400 |
605 | |
Y180M-H |
650 | ||||||||||||
Y180L-H |
48 |
14 |
42.5 |
9 |
175 |
360 |
290 |
420 |
670 | ||||
Y200L-H |
710 | ||||||||||||
Y255S-H |
55 |
16 |
49 |
10 |
350 |
300 |
200 |
400 |
355 |
475 |
780 | ||
Y225M-H |
55/60 |
110/140 |
15/18 |
49/53 |
10/11 |
400 |
350 |
8×19φ |
225 |
450 |
370 |
530 |
—/825 |
Y225M-H |
820/850 |

圖4 Y-H系列外形尺寸圖V1(見表11)
表11 Y-H系列(80~315L1)V1無底腳,有凸緣電動機 (單位:mm)
型號 |
D |
E |
F |
G |
GD |
M |
N |
P |
S |
HP |
AC |
AD |
HF |
L |
Y80-H |
19 |
40 |
6 |
15.5 |
6 |
165 |
130 |
200 |
4×φ12 |
79 |
165 |
175 |
260 |
335 |
Y90S-H |
24 |
50 |
8 |
20 |
7 |
88 |
180 |
180 |
270 |
360 | ||||
Y90L-H |
24 |
,
97 |
180 |
180 |
270 |
400 | ||||||||
Y100-H |
28 |
60 |
8 |
24 |
215 |
180 |
250 |
4×φ15 |
110 |
205 |
195 |
300 |
430 | |
Y112-H |
28 |
230 |
205 |
320 |
450 | |||||||||
Y132S-H |
38 |
80 |
10 |
33 |
8 |
265 |
230 |
300 |
130 |
270 |
260 |
380 |
535 | |
Y132M-H |
38 |
270 |
260 |
380 |
575 | |||||||||
Y160M-H |
42 |
110 |
12 |
37 |
300 |
250 |
350 |
4×φ19 |
159 |
325 |
270 |
450 |
660 | |
Y160L-H |
42 |
325 |
270 |
450 |
705 | |||||||||
Y180M-H |
48 |
14 |
42.5 |
9 |
175 |
360 |
290 |
490 |
730 | |||||
Y180L-H |
48 |
360 |
290 |
490 |
765 | |||||||||
Y200L-H |
55 |
16 |
49 |
10 |
350 |
300 |
400 |
200 |
400 |
355 |
550 |
840 | ||
Y225S-H |
55/60 |
110/140 |
16/18 |
49/53 |
10/11 |
400 |
350 |
450 |
8×φ19 |
225 |
450 |
570 |
610 |
—/890 |
Y225M-H |
55/60 |
495 |
570 |
610 |
885/915 | |||||||||
Y250M-H |
60/65 |
140 |
18 |
53/58 |
11 |
500 |
450 |
550 |
275 |
495 |
455 |
640 |
995 | |
Y280S-H |
65/75 |
18/20 |
58/67.5 |
11/12 |
550 |
470 |
760 |
1090 | ||||||
Y280M-H |
65/755 |
550 |
470 |
760 |
1140 | |||||||||
Y315S-H |
65/80 |
140/170 |
18/22 |
58/71 |
11/14 |
600 |
550 |
660 |
8×φ24 |
— |
660 |
576 |
900 |
1360/1390 |
Y315M-H |
65/80 |
660 |
576 |
900 |
1460/1490 | |||||||||
Y315L12-H |
65/80 |
660 |
576 |
900 |
1460/1490 |
頁次:1/1 每頁10條 共3條信息 分頁:[1] |