產品展示
一、產品特點:
1、全封閉全壽命機電一體化設計 2、硬齒面斜齒傳動,低噪聲、高效率
3、整體結構緊湊、重量輕、適應性強 4、可附加電磁制動器
二、型號標記:

注:箱體材料:L—鋁合金、H—鑄鐵 安裝型式:W—底腳式、F—法蘭式
標志示例:
A GHWZ40-50
雙軸鑄鐵箱體臥式,40機型號,減速比50
B GLF28-550-50
立式名合金箱體、28機型號、直聯專用電機55W,減速比50。
C GLW28K-80B85-30
臥式鋁合金箱體,28機型號,輸入端IEC標準電機法蘭80B5,減速比30
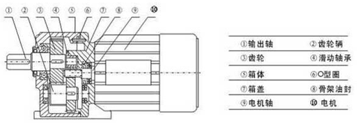
三、結構圖例:

功率KW |
機型號 |
減速機 |
輸出轉矩N.m |
輸出轉速rpm |
0.12
0.18 |
18 |
3 |
3.4 |
460.0 |
5 |
5.6 |
276.0 | ||
10 |
11.2 |
138.0 | ||
15 |
16.9 |
92.0 | ||
20 |
22.5 |
69.0 | ||
25 |
28.1 |
55.2 | ||
30 |
33.8 |
46.0 | ||
40 |
45.1 |
34.5 | ||
50 |
56.3 |
27.6 | ||
22 |
60 |
67.6 |
23.0 | |
80 |
90 |
17.3 | ||
100 |
112 |
13.8 | ||
120 |
135 |
11.5 | ||
160 |
180 |
8.7 | ||
200 |
225 |
6.9 | ||
0.25
0.37 |
22 |
3 |
7 |
460.0 |
5 |
11.6 |
276.0 | ||
10 |
23.1 |
138.0 | ||
15 |
34.7 |
82.0 | ||
20 |
46.3 |
69.0 | ||
25 |
57.9 |
55.2 | ||
30 |
69.5 |
46.0 | ||
40 |
92.6 |
34.5 | ||
50 |
115 |
27.6 | ||
28 |
60 |
139 |
23.0 | |
80 |
185 |
17.3 | ||
100 |
231 |
13.8 | ||
120 |
277 |
11.5 | ||
130 |
350 |
8.7 | ||
200 |
350 |
6.9 | ||
0.55
0.75 |
28 |
3 |
14 |
466.7 |
5 |
23.4 |
280.0 | ||
10 |
46.9 |
140.0 | ||
15 |
70.4 |
93.3 | ||
20 |
93.9 |
70.0 | ||
25 |
117 |
56.0 | ||
30 |
140 |
46.7 | ||
40 |
187 |
35.0 | ||
4 |
50 |
3 |
75 |
478 |
5 |
125 |
287.0 | ||
10 |
250 |
143.5 | ||
15 |
375 |
95.7 | ||
20 |
500 |
71.8 | ||
25 |
626 |
57.4 | ||
30 |
751 |
47.8 | ||
40 |
1001 |
35.9 | ||
50 |
1252 |
28.7 | ||
0.12
0.18 |
18/28 |
300 |
315 |
4.6 |
375 |
350 |
3.7 | ||
450 |
350 |
3.1 | ||
22/32 |
600 |
500 |
2.3 | |
750 |
500 |
1.8 | ||
900 |
500 |
1.5 | ||
1200 |
500 |
1.2 | ||
80 |
375 |
17.5 | ||
100 |
469 |
14.0 | ||
120 |
550 |
11.7 | ||
160 |
550 |
8.8 | ||
200 |
550 |
7.0 | ||
1.1
1.5 |
32 |
3 |
28.1 |
470.0 |
5 |
46.9 |
282.0 | ||
10 |
939 |
141.0 | ||
15 |
140 |
94.0 | ||
20 |
187 |
70.5 | ||
25 |
234 |
56.0 | ||
30 |
287 |
47.0 | ||
40 |
375 |
35.3 | ||
50 |
469 |
28.2 | ||
|
60 |
563 |
23.5 | |
80 |
750 |
17.6 | ||
100 |
820 |
14.1 | ||
120 |
820 |
11.8 | ||
160 |
820 |
8.8 | ||
200 |
820 |
7.1 | ||
|
120 |
1120 |
11.8 | |
160 |
1320 |
8.8 | ||
200 |
1320 |
7.1 | ||
0.25
0.37 |
40 |
3 |
56.3 |
470.0 |
5 |
93.9 |
282.0 | ||
10 |
187 |
141.0 | ||
3 |
56.3 |
470.0 | ||
5 |
939 |
282.0 | ||
10 |
187 |
141.0 | ||
15 |
281 |
94.0 | ||
20 |
375 |
70.5 | ||
25 |
469 |
56.4 | ||
30 |
563 |
47.0 | ||
40 |
751 |
35.3 | ||
50 |
50 |
820 |
28.2 | |
60 |
1126 |
23.5 | ||
80 |
1320 |
17.6 | ||
100 |
132 |
14.1 | ||
0.25
0.37 |
22/32
28/40 |
300 |
500 |
4.6 |
375 |
500 |
3.7 | ||
450 |
500 |
3.1 | ||
600 |
820 |
2.3 | ||
750 |
820 |
1.8 | ||
900 |
820 |
1.5 | ||
1200 |
820 |
1.2 | ||
0.55
0.75 |
28/40 |
300 |
820 |
4.7 |
375 |
820 |
3.8 | ||
450 |
820 |
3.1 | ||
32/50 |
600 |
1320 |
2.4 | |
750 |
1320 |
1.9 | ||
900 |
1320 |
1.6 | ||
1200 |
1320 |
1.2 |
法蘭式外形安裝尺寸

機型號 |
裝配電機
機型 |
安裝尺寸 |
軸伸尺寸 |
外形尺寸 |
重量 | |||||||||||||||||||
A |
B |
P |
H |
S |
Z |
L1 |
L2 |
D(h6) |
U |
T |
D1(h6) |
x |
x1 |
U1 |
T1 |
V |
K |
G |
W |
G |
I |
kg | ||
18 |
63 |
16.5 |
40 |
110 |
85 |
9 |
45 |
30 |
25 |
18 |
6 |
20.5 |
14 |
25 |
22 |
5 |
16 |
|
105 |
130 |
134 |
64 |
10 |
7.5 |
22 |
63、71 |
18 |
65 |
130 |
90 |
11 |
55 |
40 |
35 |
22 |
6 |
24.5 |
14 |
25 |
22 |
5 |
16 |
|
125 |
140 |
154 |
90 |
12 |
10 |
28 |
71、80 |
22 |
90 |
140 |
110 |
11 |
65 |
45 |
40 |
28 |
8 |
31 |
16 |
30 |
25 |
5 |
18 |
|
142 |
165 |
170 |
120 |
16 |
15 |
32 |
80、90 |
27 |
130 |
170 |
130 |
13 |
70 |
55 |
50 |
32 |
10 |
35 |
19 |
30 |
25 |
6 |
21.5 |
|
167 |
198 |
203 |
164 |
18 |
32 |
40 |
90、100 |
32.5 |
150 |
210 |
150 |
18 |
93 |
65 |
60 |
40 |
12 |
43 |
24 |
35 |
30 |
8 |
27 |
125 |
195 |
227 |
255 |
200 |
20 |
45 |
50 |
100、112 |
40 |
160 |
230 |
170 |
18 |
105 |
75 |
70 |
50 |
14 |
53.5 |
35 |
50 |
45 |
10 |
38 |
125 |
227 |
267 |
285 |
210 |
25 |
73 |

機型號 |
裝配電機
機型 |
安裝尺寸 |
軸伸尺寸 |
外形尺寸 |
重量 | |||||||||||||||||||
A |
B |
P(h7) |
H |
S |
N |
L1 |
L2 |
D(h6) |
U |
T |
D1(h6) |
x |
x1 |
U1 |
T1 |
V |
K |
G |
W |
G |
I |
kg | ||
18 |
63 |
16.5 |
170 |
145 |
80.5 |
9 |
3 |
30 |
25 |
18 |
6 |
20.5 |
14 |
25 |
22 |
5 |
16 |
|
105 |
158 |
33 |
154 |
12 |
7.5 |
22 |
36、71 |
18 |
185 |
148 |
79.5 |
11 |
4 |
40 |
35 |
22 |
6 |
24.5 |
14 |
25 |
22 |
5 |
16 |
|
125 |
165 |
44 |
165 |
12 |
10 |
28 |
71、80 |
22 |
215 |
170 |
94 |
11 |
4 |
45 |
40 |
28 |
8 |
31 |
16 |
30 |
25 |
5 |
18 |
|
142 |
193 |
49 |
186 |
16 |
15 |
32 |
80、90 |
27 |
250 |
180 |
108 |
13 |
4 |
55 |
50 |
32 |
10 |
35 |
19 |
30 |
25 |
6 |
21.5 |
|
167 |
230 |
59 |
213 |
18 |
32 |
40 |
90、100 |
32.5 |
310 |
231 |
300 |
18 |
5 |
65 |
60 |
40 |
12 |
43 |
24 |
35 |
30 |
8 |
27 |
125 |
195 |
283 |
70 |
262 |
20 |
45 |
50 |
100、112 |
40 |
360 |
270 |
150 |
18 |
5 |
75 |
70 |
50 |
14 |
53.5 |
35 |
50 |
45 |
10 |
38 |
125 |
227 |
331 |
80 |
302 |
25 |
73 |
法蘭式外形安裝尺寸

機型號 |
裝配電機
機型 |
安裝尺寸 |
軸伸尺寸 |
外形尺寸 |
重量 | |||||||||||||||||||
A |
B |
P(h7) |
H |
S |
N |
L1 |
L2 |
D(h6) |
U |
T |
D1(h6) |
x |
x1 |
U1 |
T1 |
V |
K |
G |
W |
G |
I |
kg | ||
18/28 |
63 |
5.5 |
90 |
140 |
110 |
11 |
65 |
45 |
40 |
28 |
8 |
31 |
16 |
30 |
25 |
5 |
18 |
|
214 |
165 |
170 |
120 |
16 |
20 |
22/32 |
63、71 |
9 |
130 |
170 |
130 |
13 |
70 |
55 |
50 |
32 |
10 |
35 |
19 |
30 |
25 |
6 |
21.5 |
|
248 |
198 |
203 |
164 |
18 |
40 |
28/40 |
71、80 |
10.5 |
150 |
210 |
150 |
18 |
93 |
65 |
60 |
40 |
12 |
43 |
24 |
35 |
30 |
8 |
27 |
|
288 |
227 |
255 |
200 |
20 |
62 |
32/50 |
80、90 |
13 |
160 |
230 |
170 |
18 |
105 |
75 |
70 |
50 |
14 |
54 |
35 |
50 |
45 |
10 |
38 |
|
335 |
267 |
285 |
210 |
25 |
100 |
雙組立式底腳外形安裝尺寸

機型號 |
裝配電機
機型 |
安裝尺寸 |
軸伸尺寸 |
外形尺寸 |
重量 | |||||||||||||||||||
A |
B |
P(h7) |
H |
S |
N |
L1 |
L2 |
D(h6) |
U |
T |
D1(h6) |
x |
x1 |
U1 |
T1 |
V |
K |
G |
W |
G |
I |
kg | ||
18/28 |
63 |
5.5 |
215 |
170 |
94 |
11 |
4 |
45 |
40 |
28 |
8 |
31 |
16 |
30 |
25 |
5 |
18 |
|
214 |
193 |
49 |
186 |
16 |
20 |
22/32 |
63、71 |
9 |
250 |
180 |
108 |
13 |
4 |
55 |
50 |
32 |
10 |
35 |
19 |
30 |
25 |
6 |
21.5 |
|
248 |
230 |
50 |
213 |
18 |
40 |
28/40 |
71、80 |
10.5 |
310 |
230 |
130 |
18 |
5 |
65 |
60 |
40 |
12 |
43 |
24 |
35 |
30 |
8 |
27 |
|
288 |
283 |
70 |
262 |
20 |
62 |
32/50 |
80、90 |
13 |
360 |
270 |
150 |
18 |
5 |
75 |
70 |
50 |
14 |
53.5 |
35 |
50 |
45 |
10 |
38 |
|
335 |
331 |
80 |
302 |
25 |
100 |
頁次:1/1 每頁10條 共3條信息 分頁:[1] |