 |
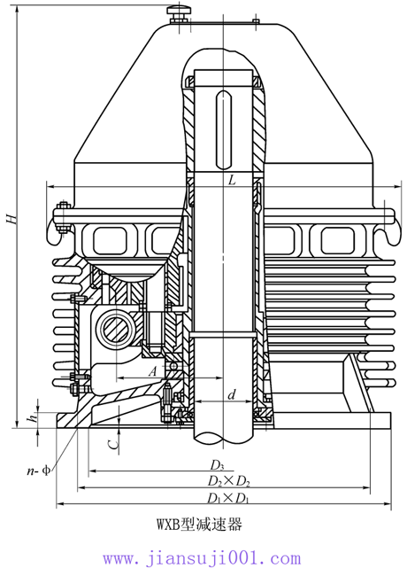
WXA、WXB型蝸桿少齒差行星齒輪減速機外形及安裝尺寸 |
 |
|
詳細介紹: |
發布時間:2006/4/23 16:43:02 |
|
|
WXA、WXB型蝸桿少齒差行星齒輪減速機外形及安裝尺寸


WXA、WXB型減速器基本參數和主要尺寸 /mm
型號 |
電機功
率/kW |
許用轉矩
/N·m |
實心軸(Ⅰ型) |
空心軸(Ⅱ型) |
d |
d3 |
ds |
M |
b1 |
b2 |
t1 |
t2 |
d |
d4 |
d3 |
ds |
M |
b1 |
b2 |
t1 |
t2 |
WXA1
WXB1 |
0.55~0.75 |
10000 |
100 |
95 |
92 |
M95×2 |
12 |
25 |
89 |
86 |
121 |
101 |
120 |
117 |
M120×2 |
14 |
25 |
114 |
111 |
WXA2
WXB2 |
0.75~1.5 |
12000 |
110 |
105 |
102 |
M105×2 |
12 |
28 |
99 |
95 |
133 |
113 |
130 |
127 |
M130×2 |
14 |
28 |
122 |
120 |
WXA3
WXB3 |
1.1~4 |
16000 |
120 |
115 |
112 |
M115×2 |
14 |
32 |
109 |
104 |
146 |
122 |
145 |
137 |
M140×2 |
14 |
32 |
132 |
134 |
WXA4
WXB4 |
2.2~5.5 |
20000 |
138 |
130 |
126 |
M130×2 |
14 |
32 |
122 |
119 |
168 |
140 |
165 |
155 |
M160×3 |
16 |
32 |
149 |
154 |
WXA5
WXB5 |
3~11 |
30000 |
182 |
180 |
175 |
M180×3 |
16 |
45 |
169 |
165 |
219 |
185 |
215 |
205 |
M210×3 |
16 |
45 |
199 |
200 |
型號 |
D1 |
D2 |
D3(H9) |
n-φ |
H |
H1 |
h |
d2 |
b |
t |
L0 |
L1 |
L2 |
L3 |
L4 |
L5 |
L6 |
L7 |
A |
C |
WXA1
WXB1 |
460 |
410 |
360 |
8-22 |
800 |
160 |
35 |
19 |
6 |
21.5 |
285 |
40 |
30 |
6 |
130 |
140 |
540 |
80 |
160 |
5 |
WXA2
WXB2 |
580 |
520 |
470 |
12-24 |
900 |
180 |
40 |
24 |
8 |
27 |
360 |
40 |
30 |
6 |
150 |
160 |
580 |
80 |
200 |
6 |
WXA3
WXB3 |
670 |
590 |
500 |
12-33 |
950 |
200 |
45 |
30 |
8 |
33 |
420 |
50 |
30 |
6 |
180 |
190 |
580 |
90 |
250 |
6 |
WXA4
WXB4 |
900 |
800 |
640 |
12-40 |
1250 |
230 |
50 |
45 |
14 |
48.8 |
550 |
60 |
36 |
6 |
190 |
198 |
700 |
100 |
280 |
7 |
WXA5
WXB5 |
1100 |
1000 |
840 |
12-40 |
1600 |
280 |
60 |
45 |
14 |
48.8 |
650 |
60 |
36 |
6 |
220 |
240 |
850 |
100 |
320
360 |
9 | |
|
|