 |
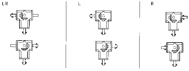
ARA系列螺旋錐齒輪轉向箱軸配置、旋轉方向關系及傳動能力表 |
 |
|
詳細介紹: |
發布時間:2006/6/8 17:43:54 |
|
|
ARA系列螺旋錐齒輪轉向箱軸配置、旋轉方向關系及傳動能力表

ARA系列傳動能力表:
i |
n1
r/min |
ARA1 |
ARA2 |
ARA4 |
MM2(N·m) |
PN1(kw) |
MM2(N·m) |
PN1(kw) |
MM2(N·m) |
PN1(kw) |
1:1 |
1450 |
7.15 |
1.11 |
12.25 |
1.92 |
31.9 |
4.94 |
1150 |
7.15 |
0.88 |
14.01 |
1.73 |
34.1 |
4.19 |
870 |
7.15 |
0.66 |
15.78 |
1.47 |
37.2 |
3.46 |
580 |
7.15 |
0.44 |
17.74 |
1.10 |
39.5 |
2.45 |
400 |
7.15 |
0.30 |
17.74 |
0.76 |
40.2 |
1.72 |
300 |
7.15 |
0.23 |
17.74 |
0.57 |
40.5 |
1.30 |
200 |
7.15 |
0.15 |
17.74 |
0.38 |
41.2 |
0.88 |
150 |
7.15 |
0.11 |
17.74 |
0.28 |
41.8 |
0.67 |
100 |
7.15 |
0.08 |
17.74 |
0.19 |
41.9 |
0.448 |
50 |
7.15 |
0.04 |
17.74 |
0.095 |
43.2 |
0.231 |
2:1 |
1450 |
6.95 |
0.55 |
11.96 |
0.94 |
42.8 |
3.32 |
1150 |
6.95 |
0.43 |
11.96 |
0.74 |
43.4 |
2.67 |
870 |
6.95 |
0.33 |
11.96 |
0.56 |
43.8 |
2.04 |
580 |
6.95 |
0.22 |
11.96 |
0.37 |
44.4 |
1.38 |
400 |
6.95 |
0.15 |
11.96 |
0.26 |
45.1 |
0.964 |
300 |
6.95 |
0.11 |
11.96 |
0.19 |
45.5 |
0.729 |
200 |
6.95 |
0.075 |
11.96 |
0.13 |
46.1 |
0.492 |
150 |
6.95 |
0.056 |
11.96 |
0.10 |
46.4 |
0.372 |
100 |
6.95 |
0.038 |
11.96 |
0.064 |
46.6 |
0.249 |
50 |
6.95 |
0.018 |
11.96 |
0.032 |
46.8 |
0.125 | |
|
|