| YEJT系列電磁制動三相異步電動機(H80~200mm)在線購買 |
|
| 本產品詳細參數 |
 |
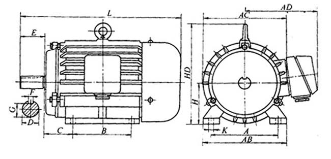
YEJT系列電磁制動三相異步電動機外形尺寸(H80~200mm) |
 |
| |
詳細介紹: |
發布時間:2007/5/29 9:29:43 |
|
| |

|
中心高 |
A |
B |
C |
D |
E |
F |
G |
H |
K |
AB |
AC |
AD |
HD |
L |
|
80 |
125 |
100 |
50 |
19 |
40 |
6 |
15.5 |
80 |
10 |
165 |
165 |
150 |
170 |
370 |
|
90S |
140 |
100 |
56 |
24 |
50 |
8 |
20 |
90 |
10 |
180 |
175 |
155 |
190 |
395 |
|
90L |
140 |
125 |
56 |
24 |
50 |
8 |
20 |
90 |
10 |
180 |
175 |
155 |
190 |
420 |
|
100L |
160 |
140 |
63 |
28 |
60 |
8 |
24 |
100 |
12 |
205 |
205 |
180 |
245 |
480 |
|
112M |
190 |
140 |
70 |
28 |
60 |
8 |
24 |
112 |
12 |
245 |
230 |
190 |
265 |
500 |
|
132S |
216 |
140 |
89 |
38 |
80 |
10 |
33 |
132 |
12 |
280 |
270 |
210 |
315 |
585 |
|
132M |
216 |
178 |
89 |
38 |
80 |
10 |
33 |
132 |
12 |
280 |
270 |
210 |
315 |
625 |
|
160M |
254 |
210 |
108 |
42 |
110 |
12 |
37 |
160 |
15 |
330 |
325 |
255 |
285 |
715 |
|
160L |
245 |
254 |
108 |
42 |
110 |
12 |
37 |
160 |
15 |
330 |
325 |
255 |
385 |
760 | |
|
|
|