|
|
| 本產品詳細參數 |
 |
H3.V平行軸齒輪箱三級傳動立式安裝 |
 |
| |
詳細介紹: |
發布時間:2006/5/23 10:05:15 |
|
| |
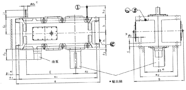
平行軸齒輪箱三級傳動立式安裝(類型H3.V)


1)m6≤∮100 n6>∮100
有關平鍵DIN 6885/1B型和中心孔
2)鍵槽DIN 6885/1
3)扭力支撐位于工作機側
|
規格 |
尺寸mm |
|
輸入軸 |
|
iN=22.4-45 |
iN=25.-50 |
iN=28-56 |
iN=50-63 |
iN=56-71 |
iN=63-80 |
iN=71-90 |
iN=80-100 |
iN=90-112 |
G1 |
|
d11) |
l1 |
d11) |
l1 |
d11) |
l1 |
d11) |
l1 |
d11) |
l1 |
d11) |
l1 |
d11) |
l1 |
d11) |
l1 |
d11) |
l1 |
|
13 |
85 |
160 |
|
|
|
|
60 |
135 |
|
|
|
|
50 |
110 |
|
|
|
|
310 |
|
14 |
|
|
|
|
85 |
160 |
|
|
|
|
60 |
135 |
|
|
|
|
50 |
110 |
310 |
|
15 |
100 |
200 |
|
|
|
|
75 |
140 |
|
|
|
|
60 |
140 |
|
|
|
|
350 |
|
16 |
|
|
100 |
200 |
|
|
|
|
75 |
140 |
|
|
|
|
60 |
140 |
|
|
350 |
|
17 |
100 |
200 |
|
|
|
|
75 |
140 |
|
|
|
|
60 |
140 |
|
|
|
|
380 |
|
18 |
|
|
100 |
200 |
|
|
|
|
75 |
140 |
|
|
|
|
60 |
140 |
|
|
380 |
|
19 |
|
|
|
|
|
|
|
根據用戶要求供貨 |
|
|
|
|
|
|
|
|
|
|
20 |
|
|
|
|
|
|
|
|
|
|
|
|
|
|
|
|
|
21 |
|
|
|
|
|
|
|
|
|
|
|
|
|
|
|
|
|
22 |
|
|
|
|
|
|
|
|
|
|
|
|
|
|
|
|
|
規格 |
尺寸mm |
|
齒輪箱 |
|
a |
b |
c |
E |
f2 |
f3 |
h |
h2 |
m1 |
m2 |
n1 |
n2 |
P14) |
P24) |
s |
|
13 |
1395 |
900 |
61±2 |
820 |
35 |
170 |
272.5 |
300 |
1300 |
680 |
50 |
360 |
50 |
500 |
48 |
|
14 |
1535 |
900 |
61±2 |
890 |
35 |
170 |
272.5 |
300 |
1440 |
680 |
50 |
430 |
50 |
500 |
48 |
|
15 |
1680 |
980 |
72±2 |
987 |
42 |
170 |
310 |
340 |
1565 |
750 |
60 |
430 |
50 |
570 |
55 |
|
16 |
1770 |
980 |
72±2 |
1033 |
42 |
170 |
310 |
340 |
1655 |
750 |
60 |
475 |
50 |
570 |
55 |
|
17 |
1770 |
1110 |
81±2 |
1035 |
42 |
210 |
340 |
374 |
1640 |
850 |
70 |
465 |
70 |
630 |
55 |
|
18 |
1890 |
1110 |
81±2 |
1095 |
42 |
210 |
340 |
374 |
1760 |
850 |
70 |
525 |
70 |
630 |
55 |
|
19 |
|
|
|
|
|
根據用戶要求供貨 |
|
|
|
|
|
|
|
|
20 |
|
|
|
|
|
|
|
|
|
|
|
|
|
21 |
|
|
|
|
|
|
|
|
|
|
|
|
|
22 |
|
|
|
|
|
|
|
|
|
|
|
|
|
規格 |
尺寸mm |
潤滑油
(1) |
重量
(kg) |
|
輸出軸 |
|
H3SV |
H3HV |
H3DV |
|
d21) |
G2 |
l2 |
D22) |
G4 |
D3 |
D4 |
G4 |
G5 |
|
13 |
200 |
335 |
350 |
190 |
335 |
190 |
195 |
335 |
480 |
115 |
2155 |
|
14 |
210 |
335 |
350 |
210 |
335 |
210 |
215 |
335 |
480 |
126 |
2490 |
|
15 |
230 |
380 |
410 |
230 |
380 |
230 |
235 |
380 |
550 |
180 |
3260 |
|
16 |
240 |
380 |
410 |
240 |
380 |
240 |
245 |
380 |
550 |
190 |
3625 |
|
17 |
250 |
415 |
410 |
250 |
415 |
250 |
260 |
415 |
600 |
190 |
4250 |
|
18 |
270 |
415 |
470 |
275 |
415 |
280 |
285 |
415 |
600 |
200 |
4740 |
|
19 |
|
|
|
|
根據用戶要求供貨 |
|
|
|
|
|
|
20 |
|
|
|
|
|
|
|
|
|
|
21 |
|
|
|
|
|
|
|
|
|
|
22 |
|
|
|
|
|
|
|
|
| |
|
|
|