|
|
| 本產品詳細參數 |
 |
B4.V型直交軸齒輪箱四級傳動立式安裝 |
 |
| |
詳細介紹: |
發布時間:2006/5/23 11:15:28 |
|
| |
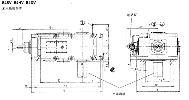
直交軸齒輪箱四級傳動立式安裝(類型B4.V)


1)m6≤∮100 n6>∮100
有關平鍵DIN 6885/1B型和中心孔
2)鍵槽DIN 6885/1
3)扭力支撐位于工作機側
|
規格 |
尺寸mm |
|
輸入軸 |
|
iN=80-180 |
iN=90-200 |
iN=100-224 |
iN=200-315 |
iN=224-355 |
iN=250-400 |
G1 |
|
d11) |
l1 |
d11) |
l1 |
d11) |
l1 |
d11) |
l1 |
d11) |
l1 |
d11) |
l1 |
|
13 |
55 |
110 |
|
|
|
|
40 |
100 |
|
|
|
|
1170 |
|
14 |
|
|
|
|
55 |
110 |
|
|
|
|
40 |
100 |
1240 |
|
15 |
70 |
135 |
|
|
|
|
50 |
110 |
|
|
|
|
1402 |
|
16 |
|
|
70 |
135 |
|
|
|
|
50 |
110 |
|
|
1448 |
|
17 |
70 |
135 |
|
|
|
|
50 |
110 |
|
|
|
|
1450 |
|
18 |
|
|
70 |
135 |
|
|
|
|
50 |
110 |
|
|
1510 |
|
19 |
|
|
|
|
|
根據用戶要求供貨 |
|
|
|
|
|
|
|
20 |
|
|
|
|
|
|
|
|
|
|
|
|
21 |
|
|
|
|
|
|
|
|
|
|
|
|
22 |
|
|
|
|
|
|
|
|
|
|
|
|
規格 |
尺寸mm |
|
齒輪箱 |
|
a |
b |
c |
e7 |
E |
f2 |
h |
h2 |
m1 |
m2 |
n1 |
n2 |
P2 |
s |
|
13 |
1395 |
900 |
61±2 |
695 |
820 |
35 |
272.5 |
300 |
1300 |
680 |
50 |
360 |
500 |
48 |
|
14 |
1535 |
900 |
61±2 |
695 |
890 |
35 |
272.5 |
300 |
1440 |
680 |
50 |
430 |
500 |
48 |
|
15 |
1680 |
980 |
72±2 |
735 |
987 |
42 |
310 |
340 |
1565 |
750 |
60 |
430 |
570 |
55 |
|
16 |
1770 |
980 |
72±2 |
735 |
1033 |
42 |
310 |
340 |
1655 |
750 |
60 |
475 |
570 |
55 |
|
17 |
1770 |
1110 |
81±2 |
795 |
1035 |
42 |
340 |
374 |
1640 |
850 |
70 |
465 |
630 |
55 |
|
18 |
1890 |
1110 |
81±2 |
795 |
1095 |
42 |
340 |
374 |
1760 |
850 |
70 |
525 |
630 |
55 |
|
19 |
|
|
|
|
|
|
根據用戶要求供貨 |
|
|
|
|
|
|
|
20 |
|
|
|
|
|
|
|
|
|
|
|
|
|
21 |
|
|
|
|
|
|
|
|
|
|
|
|
|
22 |
|
|
|
|
|
|
|
|
|
|
|
|
|
規格 |
尺寸mm |
潤滑油
(1) |
重量
(kg) |
|
輸出軸 |
|
B4SV |
B4HV |
B4DV |
|
d21) |
G2 |
l2 |
D22) |
G4 |
D3 |
D4 |
G4 |
G5 |
|
13 |
200 |
335 |
350 |
190 |
335 |
190 |
195 |
335 |
480 |
130 |
2280 |
|
14 |
210 |
335 |
350 |
210 |
335 |
210 |
215 |
335 |
480 |
150 |
2605 |
|
15 |
230 |
380 |
410 |
230 |
380 |
230 |
235 |
380 |
550 |
200 |
3435 |
|
16 |
240 |
380 |
410 |
240 |
380 |
240 |
245 |
380 |
550 |
235 |
3765 |
|
17 |
250 |
415 |
410 |
250 |
415 |
250 |
260 |
415 |
600 |
215 |
4460 |
|
18 |
270 |
415 |
470 |
275 |
415 |
280 |
285 |
415 |
600 |
250 |
4930 |
|
19 |
|
|
|
|
根據用戶要求供貨 |
|
|
|
|
|
|
20 |
|
|
|
|
|
|
|
|
|
|
21 |
|
|
|
|
|
|
|
|
|
|
22 |
|
|
|
|
|
|
|
|
| |
|
|
|